授权公布号:CN216728234U
一种原粮筛分装置
有效
申请
2022-01-13
申请公布
1970-01-01
授权
2022-06-14
预估到期
2032-01-13
| 申请号 | CN202220087512.6 |
| 申请日 | 2022-01-13 |
| 授权公布号 | CN216728234U |
| 授权公告日 | 2022-06-14 |
| 分类号 | B07B1/46;B07B1/28;B07B9/00 |
| 分类 | 将固体从固体中分离;分选; |
| 申请人名称 | 吉林省德伟米业有限公司 |
| 申请人地址 | 吉林省松原市宁江区雅达虹工业集中区 |
专利法律状态
2022-06-14
授权
状态信息
授权
摘要
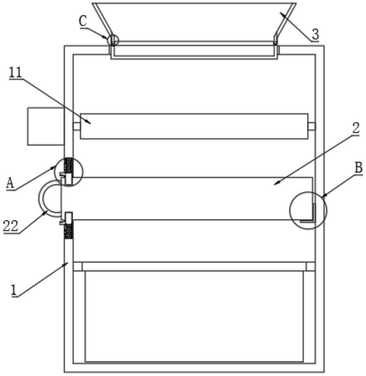
本实用新型涉及原粮筛分设备技术领域,特别是涉及一种原粮筛分装置。其包括筛分装置、筛分网与收渣机构,收渣机构包括收渣箱,收渣箱活动连接于筛分装置内部,收渣箱一端贯穿筛分装置位于筛分装置外侧;连接撑架,连接撑架固定连接于筛分装置内壁,连接撑架顶端表面活动连接于收渣箱底端表面;限位槽,限位槽开设于收渣箱外侧;活动槽,活动槽开设于筛分装置内部,活动槽内侧设置有弹性件与连接件,连接件位于限位槽内侧时,收渣箱与筛分装置为连接状态;通过设置的收渣机构,能让原粮在进行筛分的时候,被筛出来的杂物能自动落入到进料斗中,更加便于原料的筛分,降低人工工作量。


