授权公布号:CN219190280U
一种剃毛器刀头
有效
申请
2022-12-09
申请公布
1970-01-01
授权
2023-06-16
预估到期
2032-12-09
| 申请号 | CN202223295835.3 |
| 申请日 | 2022-12-09 |
| 授权公布号 | CN219190280U |
| 授权公告日 | 2023-06-16 |
| 分类号 | B26B19/04;B26B19/38 |
| 分类 | 手动切割工具;切割;切断; |
| 申请人名称 | 广州樱舒母婴用品有限公司 |
| 申请人地址 | 广东省广州市番禺区沙湾街福冠路7号5栋602 |
专利法律状态
2023-06-16
授权
状态信息
授权
摘要
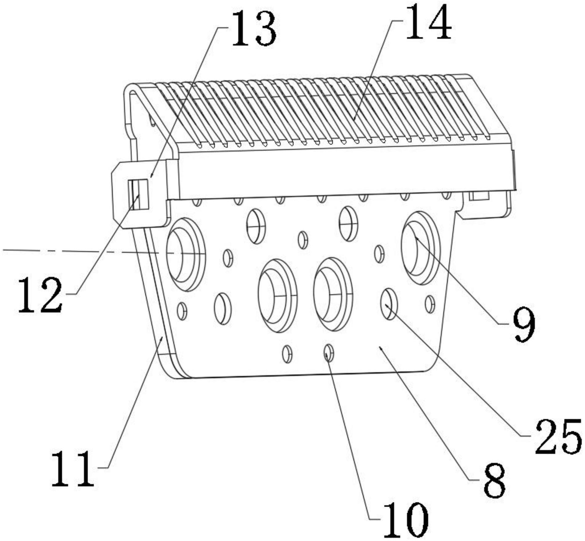
本实用新型涉及一种剃毛器刀头,包括:第一下刀架;定位部,设置于第一下刀架上;定刀主体,设置于第一下刀架上,并与定位部连接;第一上刀架,设置于动刀片上;动刀片,设置于定刀主体内侧;第一扭簧,设置于第一下刀架内侧,动刀片通过第一扭簧活动安装在定刀主体内侧。本实用新型可以有效的对动刀片进行遮护,防止剃毛器在使用过程中刀头动刀的锋锐部位与皮肤的接触,从而避免了使用过程中可能对皮肤造成的损伤,定刀齿尖是由面折弯形成的圆滑弧角,齿尖在与皮肤接触时的肤感会更加柔和舒适,可以给使用者带来更好的体验,该防护定刀结构可以最大限度的避免剃毛器在使用过程中剃毛刀头上的动刀片与皮肤的接触,大幅地提高剃毛器使用的安全系数。


