授权公布号:CN216257164U
一种可拆卸组装的内科用听诊器
有效
申请
2021-11-04
申请公布
1970-01-01
授权
2022-04-12
预估到期
2031-11-04
| 申请号 | CN202122678237.3 |
| 申请日 | 2021-11-04 |
| 授权公布号 | CN216257164U |
| 授权公告日 | 2022-04-12 |
| 分类号 | A61B7/02 |
| 分类 | 医学或兽医学;卫生学; |
| 申请人名称 | 江苏远燕医疗设备有限公司 |
| 申请人地址 | 江苏省镇江市丹阳市陵口镇丹东工业园(陵口122省道工业集中区11号) |
专利法律状态
2022-04-12
授权
状态信息
授权
摘要
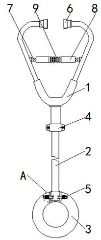
本实用新型涉及一种可拆卸组装的内科用听诊器,包括耳管、设置在耳管一端的导管和设置在导管远离耳管一端的听诊头,所述耳管和导管之间设置有用于连接的连接组件,所述听诊头和导管之间设置有用于连接的限位组件;所述限位组件包括握柄、固定套、固定柱、限位杆、拉杆和限位弹簧,所述握柄连接于听诊头上,所述握柄的内部活动连接有固定套。该可拆卸组装的内科用听诊器,通过将固定套放入握柄内部,再通过利用限位弹簧的弹力带动限位杆向固定套内部移动,使限位杆与限位槽卡接,便于对听诊头进行安装,当需要对听诊头进行更换时,通过拉动拉杆带动限位杆向固定柱内部移动,使限位杆与固定套脱离,达到了便于拆卸组装的优点。


