授权公布号:CN218307323U
一种油墨供给箱
有效
申请
2022-07-27
申请公布
1970-01-01
授权
2023-01-17
预估到期
2032-07-27
| 申请号 | CN202221955015.X |
| 申请日 | 2022-07-27 |
| 授权公布号 | CN218307323U |
| 授权公告日 | 2023-01-17 |
| 分类号 | B01F27/70;B01F35/92;B01F35/213;B01F101/30N |
| 分类 | 一般的物理或化学的方法或装置; |
| 申请人名称 | 佛山市南海巴贝兰机械有限公司 |
| 申请人地址 | 广东省佛山市南海区里水镇西线路甘蕉工业区69号 |
专利法律状态
2023-01-17
授权
状态信息
授权
摘要
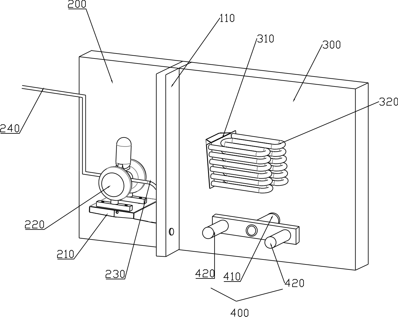
本申请涉及涂漆设备技术领域,公开了一种油墨供给箱,包括箱体,所述箱体内设置有分隔板,所述分隔板将所述箱体内部分隔为第一容纳腔和第二容纳腔,所述箱体包括供油组件、加热组件和搅拌组件,所述供油组件设置在所述第一容纳腔,所述加热组件和所述搅拌组件设置在所述第二容纳腔,所述第二容纳腔用于储存油墨,所述供油组件用于抽吸所述第二容纳腔内的油墨以对外输出油墨。本实用新型具有节约空间、多功能化的有益效果。


