授权公布号:CN217097004U
直线型八面修边装置
有效
申请
2022-04-29
申请公布
1970-01-01
授权
2022-08-02
预估到期
2032-04-29
| 申请号 | CN202221024765.5 |
| 申请日 | 2022-04-29 |
| 授权公布号 | CN217097004U |
| 授权公告日 | 2022-08-02 |
| 分类号 | B24B9/00;B24B41/00;B24B41/02;B24B27/00;B24B47/06 |
| 分类 | 磨削;抛光; |
| 申请人名称 | 佛山星铭达自动化设备有限公司 |
| 申请人地址 | 广东省佛山市顺德区伦教街道熹涌村解放路西21号之二 |
专利法律状态
2022-08-02
授权
状态信息
授权
摘要
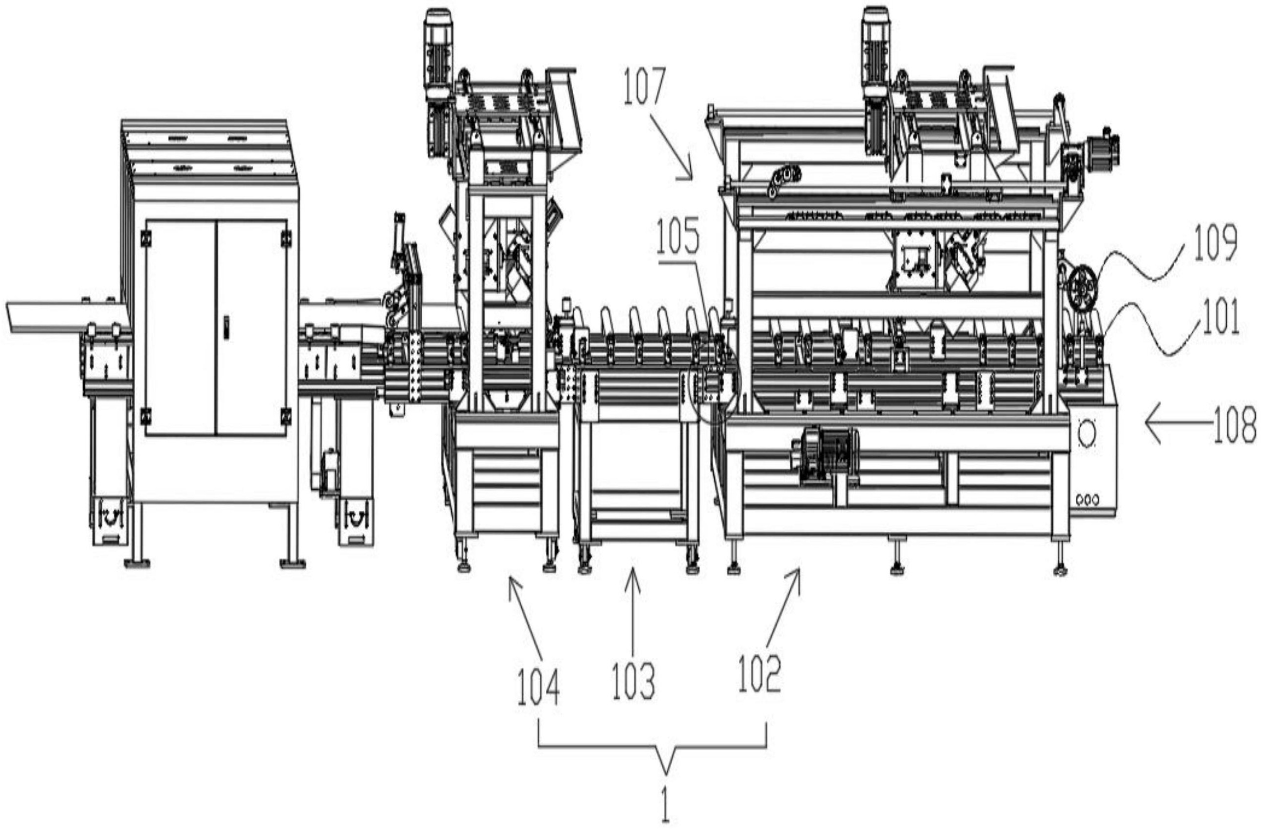
本实用新型涉及板材磨边技术领域,具体公开了一种直线型八面修边装置,包括机架,该直线型八面修边装置通过将机架分为前段机架、中段机架和后段机架,并且前段机架与后段机架对应中间机架设有连接板,在设备运输出售时可将整个装置拆分为三段,减少装车时占用的空间,方便运输出售,降低企业成本,并在进料端设有用于测量板材长度的编码器,且前段打磨装置也可移动调节,通过编码器测量进料板材长度使前段打磨装置移动精准移动至合适位置打磨,提高打磨的精度和板材质量。


