授权公布号:CN220573889U
AB胶点胶装置
有效
申请
2023-06-27
申请公布
1970-01-01
授权
2024-03-12
预估到期
2033-06-27
| 申请号 | CN202321651520.X |
| 申请日 | 2023-06-27 |
| 授权公布号 | CN220573889U |
| 授权公告日 | 2024-03-12 |
| 分类号 | B05C5/02;B05C11/10 |
| 分类 | 一般喷射或雾化;对表面涂覆液体或其他流体的一般方法〔2〕; |
| 申请人名称 | 东莞市鑫华智能制造有限公司 |
| 申请人地址 | 广东省东莞市东城街道金中路5号 |
专利法律状态
2024-03-12
授权
状态信息
授权
摘要
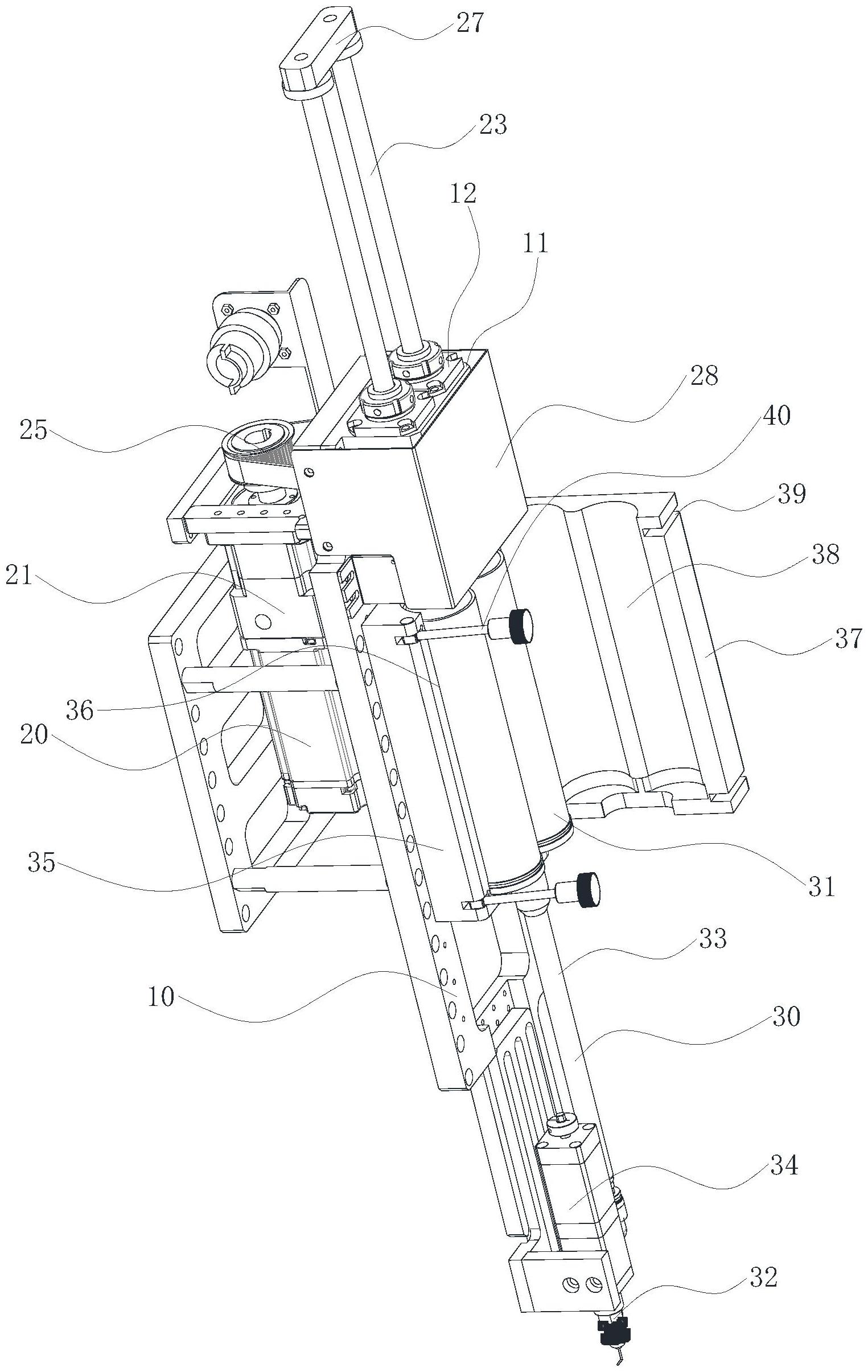
本实用新型属于点胶装置技术领域,尤其涉及一种AB胶点胶装置,包括安装板、设置在安装板上端的驱动机构、设置在安装板上且位于驱动机构下端的出胶机构。出胶机构包括两相互平行的储胶筒、出胶头和一端与两储胶筒连通另一端与出胶头连通的混胶管道。驱动机构同步挤压两储胶筒内的胶水。将A胶和B胶分别注入规格相同的储胶筒内,驱动机构同时挤压两储胶筒,将储胶筒内的A胶和B胶等量注入混胶管道中进行混合,从而精确得到1比1配比的AB胶,有利于点胶工作的进行,同时采取一个驱动机构相对与现有技术中量单液点胶阀对比,此驱动机构能节省一个驱动元,更加节省成本。


