授权公布号:CN220224534U
一种下差动送料机构及缝纫机
有效
申请
2023-08-22
申请公布
1970-01-01
授权
2023-12-22
预估到期
2033-08-22
| 申请号 | CN202322270152.0 |
| 申请日 | 2023-08-22 |
| 授权公布号 | CN220224534U |
| 授权公告日 | 2023-12-22 |
| 分类号 | D05B27/08;D05B27/22 |
| 分类 | 缝纫;绣花;簇绒; |
| 申请人名称 | 杰克科技股份有限公司 |
| 申请人地址 | 浙江省台州市椒江区三甲东海大道东段1008号 |
专利法律状态
2023-12-22
授权
状态信息
授权
摘要
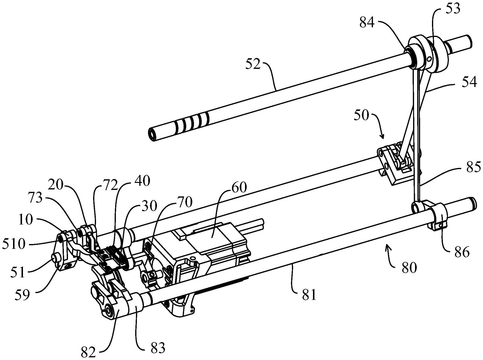
本实用新型提供一种下差动送料机构及缝纫机,下差动送料机构包括并排设置的第一牙架和第二牙架、固定在第一牙架上的第一送料牙、固定在第二牙架上的第二送料牙、第一送料驱动源、第一送料单元、第二送料驱动源、以及第二送料单元,第一送料驱动源通过第一送料单元与第一牙架的一端相连,第二送料驱动源通过第二送料单元与第二牙架的一端相连,第一送料驱动源和第二送料驱动源为两个独立的驱动源。本申请中,采用两个独立的驱动源分别驱动第一送料牙的送料和第二送料牙的送料,如此,通过控制第一送料驱动源和第二送料驱动源的输出就能够方便地调整第一送料牙的针距和第二送料牙的针距,也即方便地调整差动针距,且为电子化调节,提高效率。


