授权公布号:CN114717759B
一种缝纫机的底线检测结构
有效
申请
2021-01-05
申请公布
2022-07-08
授权
2023-10-24
预估到期
2041-01-05
| 申请号 | CN202110007131.2 |
| 申请日 | 2021-01-05 |
| 申请公布号 | CN114717759A |
| 申请公布日 | 2022-07-08 |
| 授权公布号 | CN114717759B |
| 授权公告日 | 2023-10-24 |
| 分类号 | D05B59/02 |
| 分类 | 缝纫;绣花;簇绒; |
| 申请人名称 | 杰克科技股份有限公司 |
| 申请人地址 | 浙江省台州市椒江区三甲东海大道东段1008号 |
专利法律状态
2023-10-24
授权
状态信息
授权
2022-07-08
公布
状态信息
公布
摘要
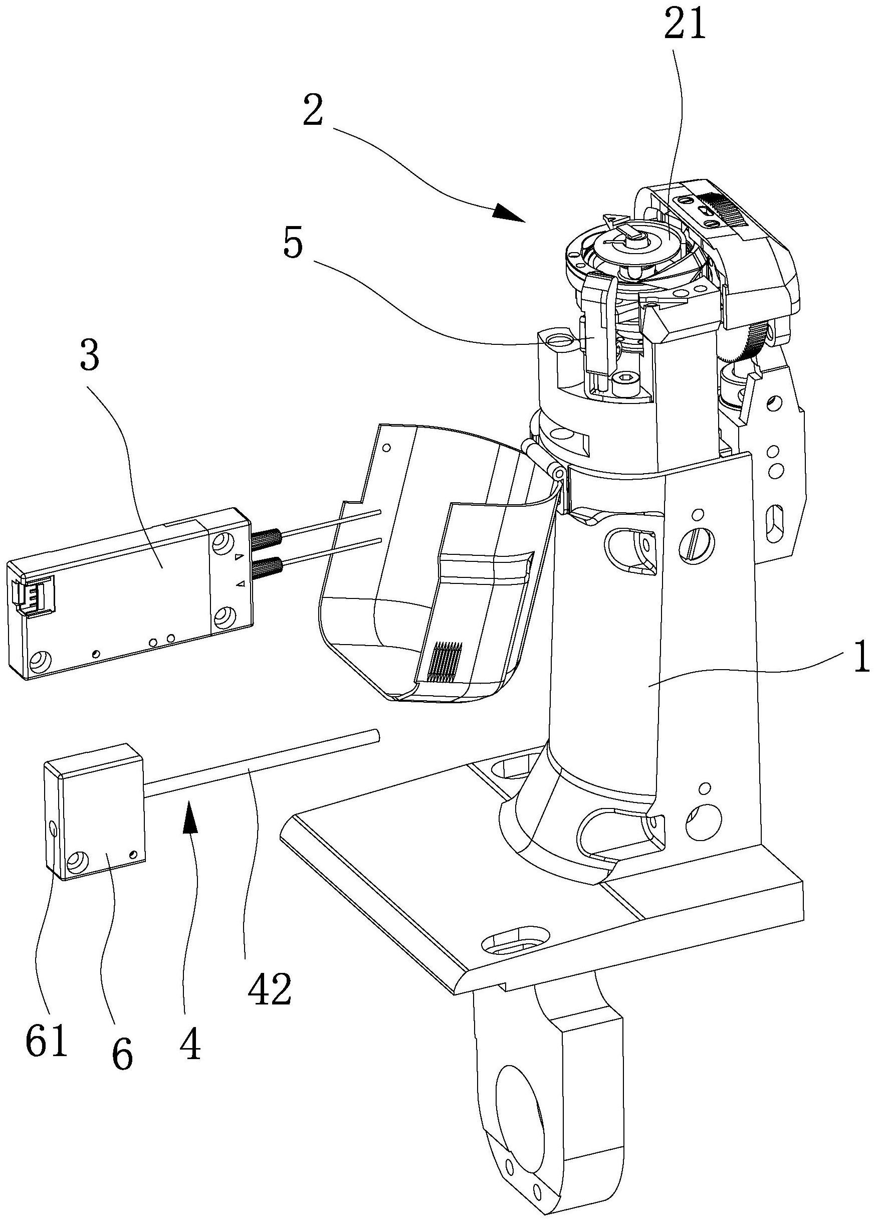
本发明提供了一种缝纫机的底线检测结构,属于缝纫机技术领域。它解决了现有缝纫机的底线检测与吹气清理整体结构不够紧凑等技术问题。缝纫机包括安装座和旋梭组件;旋梭组件中具有梭芯;本底线检测结构包括控制器、与气源连接的吹气管以及固设在安装座上的传感器组件,传感器组件包括传感器机体和固设在传感器机体上的传感器探头,传感器探头与控制器相连接且传感器探头正对梭芯;吹气管穿过传感器机体朝向传感器探头或/和传感器探头与梭芯之间的通道位置;或者传感器机体上开设有与吹气管相连通且朝向传感器探头或/和传感器探头与梭芯之间的通道位置的吹气口。本发明中底线检测结构与吹气清理结构整合呈一体结构,结构紧凑,适用范围广。


