授权公布号:CN213062575U
一种防火玻璃幕墙
有效
申请
2021-02-03
申请公布
1970-01-01
授权
2021-04-27
预估到期
2031-02-03
| 申请号 | CN202120311150.X |
| 申请日 | 2021-02-03 |
| 授权公布号 | CN213062575U |
| 授权公告日 | 2021-04-27 |
| 分类号 | E04B2/96;E04B1/94 |
| 分类 | 建筑物; |
| 申请人名称 | 北京西飞世纪门窗幕墙工程有限责任公司 |
| 申请人地址 | 北京市大兴区黄村镇狼垡一村京良路口 |
专利法律状态
2021-04-27
授权
状态信息
授权
摘要
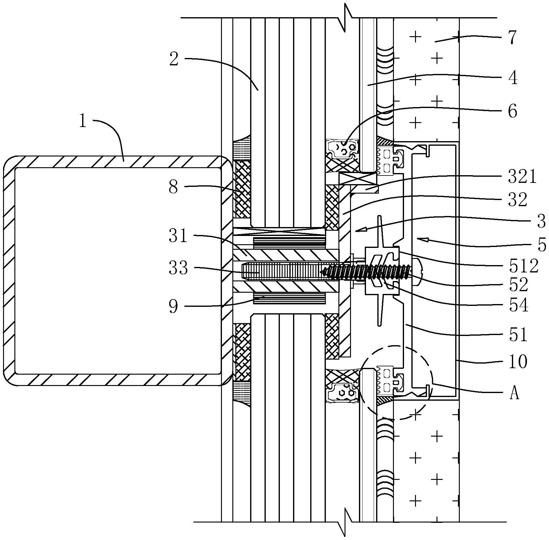
本申请涉及一种防火玻璃幕墙,涉及建筑幕墙的技术领域,其包括包括龙骨架、防火玻璃、外层玻璃、将所述防火玻璃的边缘固定在龙骨架上的防火连接组件,以及将所述外层玻璃的边缘固定在防火玻璃的远离龙骨架一侧的外连接组件。本申请能够改善防火玻璃发黄起泡而影响采光和美观的问题。


