授权公布号:CN217159602U
一种太阳能光伏用安装调节支架
有效
申请
2021-12-28
申请公布
1970-01-01
授权
2022-08-09
预估到期
2031-12-28
| 申请号 | CN202123351301.3 |
| 申请日 | 2021-12-28 |
| 授权公布号 | CN217159602U |
| 授权公告日 | 2022-08-09 |
| 分类号 | H02S20/30;F24S25/63;F24S30/425 |
| 分类 | 发电、变电或配电; |
| 申请人名称 | 江苏火蓝电气有限公司 |
| 申请人地址 | 江苏省镇江市扬中市新坝镇江城路28号 |
专利法律状态
2022-08-09
授权
状态信息
授权
摘要
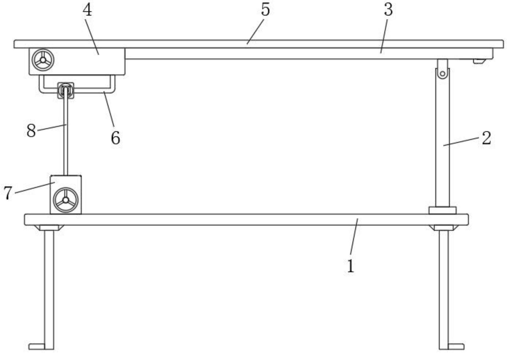
本实用新型涉及太阳能光伏安装设备技术领域,且公开了一种太阳能光伏用安装调节支架,解决了现有太阳能光伏板整体安装与使用较为不便的问题,其包括固定支架,所述固定支架顶部的一侧等距离固定安装有支撑杆,支撑杆的顶部之间转动安装有安装框,安装框的一侧固定安装有连接固定板,安装框与连接固定板的顶部之间等距离安装有光伏板,连接固定板的底部等距离安装有U形件,固定支架顶部的另一侧安装有角度调节板,U形件的两侧与角度调节板之间均安装有活动调节杆;本太阳能光伏用安装调节支架能够便捷有效的对光伏板进行安装与固定,并且在光伏板安装之后能够有效的进行角度调节,从而使光伏板的安装与使用更加的方便便捷。


