授权公布号:CN217508657U
一种用于坡面的太阳能光伏支架
有效
申请
2021-12-29
申请公布
1970-01-01
授权
2022-09-27
预估到期
2031-12-29
| 申请号 | CN202123374596.6 |
| 申请日 | 2021-12-29 |
| 授权公布号 | CN217508657U |
| 授权公告日 | 2022-09-27 |
| 分类号 | H02S20/30;F24S30/00;F24S30/425 |
| 分类 | 发电、变电或配电; |
| 申请人名称 | 江苏火蓝电气有限公司 |
| 申请人地址 | 江苏省镇江市扬中市新坝镇江城路28号 |
专利法律状态
2022-09-27
授权
状态信息
授权
摘要
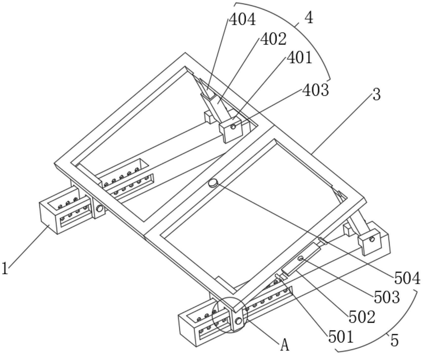
本实用新型公开了一种用于坡面的太阳能光伏支架,涉及到光伏支架领域,包括支撑座,支撑座的表面设置有移动机构,移动机构的表面设置有光伏支架,光伏支架的表面设置有调节机构,且光伏支架的表面设置有组合机构。本实用新型通过设置移动机构与调节机构,根据不同角度的坡面,调节引导滑块与定位滑块使其在支撑座的表面定位滑动,同时伸缩杆在升降座的内部伸缩,升降座通过旋转杆在旋转架的内侧旋转,继而改变了光伏支架的倾斜角度,完成光伏支架角度的调节后,将定位螺杆螺接安装在相应位置处的定位螺孔内,实现对光伏支架角度的固定,同时根据不同需求实现多组光伏支架的组装,结构简单,适合推广。


