授权公布号:CN220605815U
一种伸缩式太阳能三角架
有效
申请
2023-06-13
申请公布
1970-01-01
授权
2024-03-15
预估到期
2033-06-13
| 申请号 | CN202321500537.5 |
| 申请日 | 2023-06-13 |
| 授权公布号 | CN220605815U |
| 授权公告日 | 2024-03-15 |
| 分类号 | H02S20/30;F24S25/13;F24S30/425 |
| 分类 | 发电、变电或配电; |
| 申请人名称 | 江阴永嘉新能源科技有限公司 |
| 申请人地址 | 江苏省无锡市江阴市周庄镇伞墩东路12号 |
专利法律状态
2024-03-15
授权
状态信息
授权
摘要
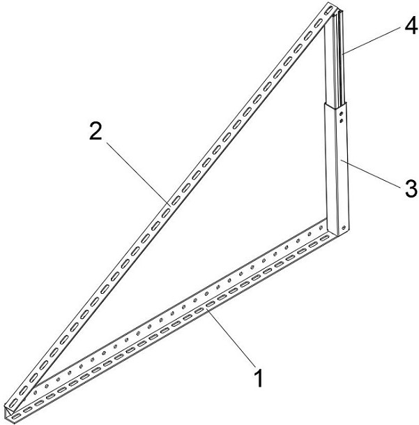
本实用新型涉及一种伸缩式太阳能三角架,包括下支架,所述下支架的一端安装有上支架,所述下支架与所述上支架通过螺栓穿接连接,所述下支架的另一端安装有下支柱,所述下支架与所述下支柱通过螺栓穿接连接,所述下支柱的顶端插接安装有上支柱,所述上支柱与所述下支柱通过扣件及螺栓固定,所述上支柱的顶端与上支架的另一端通过螺栓穿接连接。本实用新型一种伸缩式太阳能三角架,通过下支柱与上支柱通过扣件及螺栓固定,通过上支柱的伸缩实现了对上支柱及下支柱整体长度的调节,从而调节上支架的倾斜角度,满足不同的安装及固定需求,适用范围广,同时便于对上支柱及下支柱进行固定,方便操作。


