授权公布号:CN219678370U
太阳能光伏组件的伸缩支架
有效
申请
2023-02-28
申请公布
1970-01-01
授权
2023-09-12
预估到期
2033-02-28
| 申请号 | CN202320342362.3 |
| 申请日 | 2023-02-28 |
| 授权公布号 | CN219678370U |
| 授权公告日 | 2023-09-12 |
| 分类号 | H02S20/30 |
| 分类 | 发电、变电或配电; |
| 申请人名称 | 江阴永嘉新能源科技有限公司 |
| 申请人地址 | 江苏省无锡市江阴市周庄镇伞墩东路12号 |
专利法律状态
2023-09-12
授权
状态信息
授权
摘要
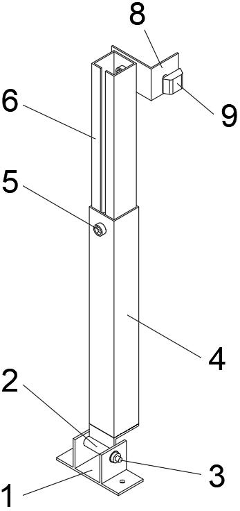
本实用新型涉及太阳能光伏组件的伸缩支架,包括底座,所述底座顶端的内侧活动安装有旋转支架,所述旋转支架与底座通过第一螺杆贯穿固定,所述旋转支架的上方安装有下支杆,所述下支杆的底部与旋转支架通过第二螺杆贯穿固定,所述下支杆的内侧插接安装有上支杆,所述上支杆与下支杆通过第二螺栓及锁紧块夹紧固定,所述上支杆顶端的外壁上安装有上支架,所述上支架与上支杆通过第二螺杆贯穿固定,所述上支架的端部插接安装有夹块。本实用新型太阳能光伏组件的伸缩支架,通过在锁紧块与上支杆相接触一面的外壁上开设有多条锯齿状凹槽,该锯齿状凹槽与上支杆的端面平行的设置,增大锁紧块与上支杆的摩擦力,提高上支杆固定的牢固性。


