授权公布号:CN214498008U
一种可调式幕墙龙骨连接支撑结构
有效
申请
2021-02-03
申请公布
1970-01-01
授权
2021-10-26
预估到期
2031-02-03
| 申请号 | CN202120311189.1 |
| 申请日 | 2021-02-03 |
| 授权公布号 | CN214498008U |
| 授权公告日 | 2021-10-26 |
| 分类号 | E04B2/88;E04B2/96 |
| 分类 | 建筑物; |
| 申请人名称 | 北京西飞世纪门窗幕墙工程有限责任公司 |
| 申请人地址 | 北京市大兴区黄村镇狼垡一村京良路口 |
专利法律状态
2021-10-26
授权
状态信息
授权
摘要
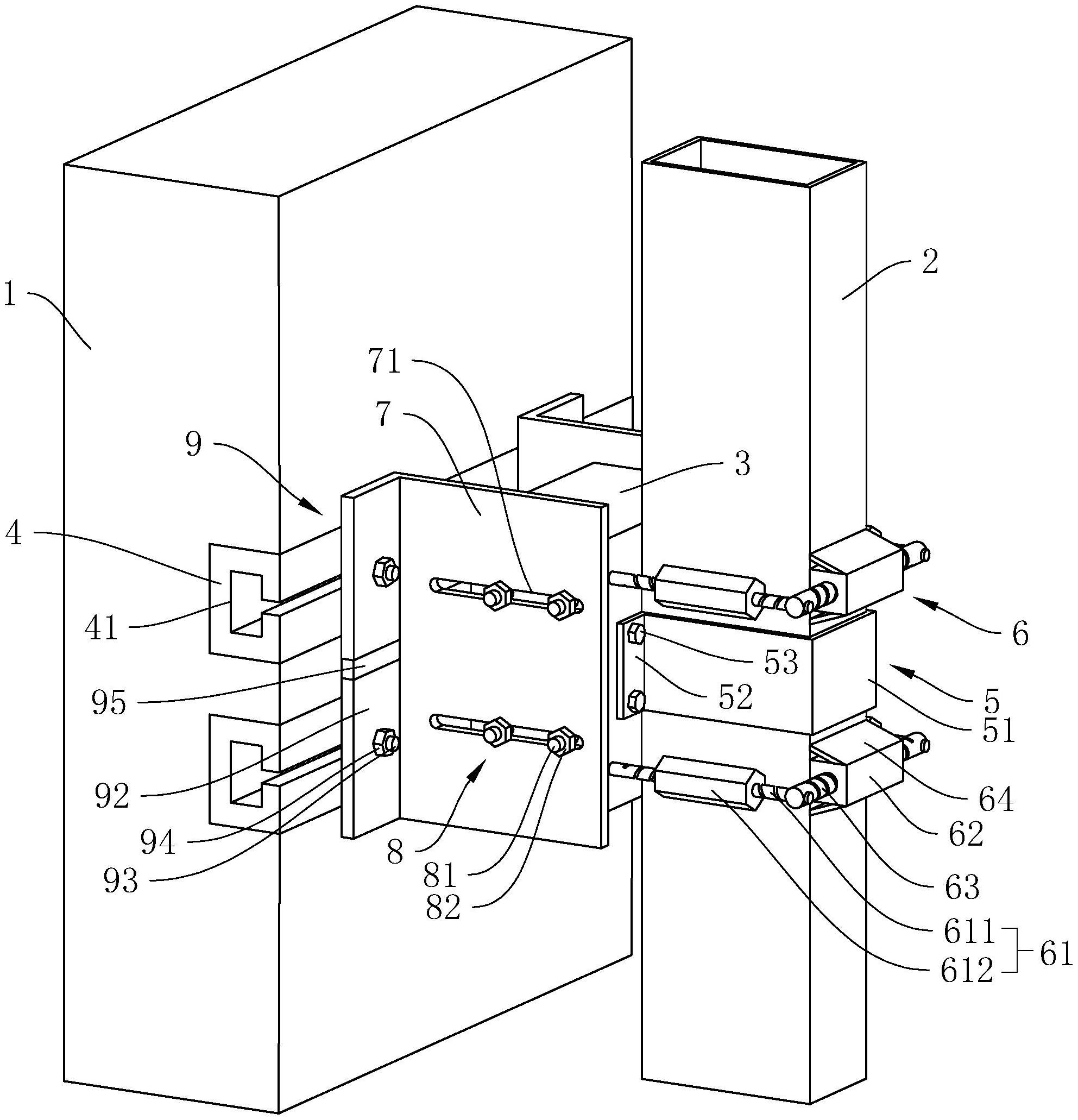
本申请涉及龙骨安装技术领域,具体公开了一种可调式幕墙龙骨连接支撑结构,包括安装块、预埋件、两个安装板;龙骨和安装块之间设置有第一固定组件;两个安装板上开设有限位通槽,限位通槽垂直主体结构且沿水平方向设置,所述安装板和安装块之间设置有第二固定组件;预埋件开设有限位凹槽,预埋件和两个安装板之间设置有第三固定组件;第一固定组件包括套设在龙骨外周面的U形板、两个分别固设在U形板两端的第一固定板,第一固定板和安装块之间通过固定螺栓实现两者的固定连接。该连接支撑结构,在不破坏龙骨的情况下,实现了龙骨于水平面、高度方向的调调节,便于对龙骨于主体结构的安装位置进行调整。


