授权公布号:CN216829467U
一种光伏发电架台装配结构
有效
申请
2021-09-06
申请公布
1970-01-01
授权
2022-06-28
预估到期
2031-09-06
| 申请号 | CN202122139379.2 |
| 申请日 | 2021-09-06 |
| 授权公布号 | CN216829467U |
| 授权公告日 | 2022-06-28 |
| 分类号 | B23P19/00 |
| 分类 | 机床;不包含在其他类目中的金属加工; |
| 申请人名称 | 福建闽德铝业有限公司 |
| 申请人地址 | 福建省厦门市湖里区安岭路1001号301室 |
专利法律状态
2022-06-28
授权
状态信息
授权
摘要
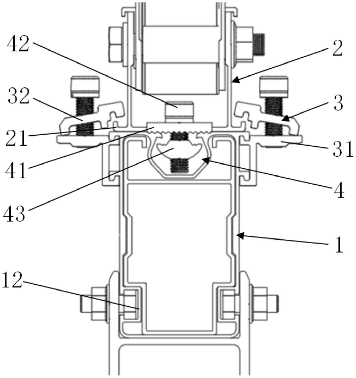
本实用新型公开了一种光伏发电架台装配结构,涉及光伏发电技术领域,包括:支撑梁和轨道,还包括用于连接支撑梁和轨道的多个侧边夹具,轨道的两侧均具有第一伸出沿,支撑梁的两侧均具有第二伸出沿,侧边夹具包括下压块、上压块和锁合机构,锁合机构作用在上压块与下压块上使位于同一侧的第一伸出沿和第二伸出沿被夹持在上压块和下压块之间。本申请设置了侧边夹具,侧边夹具包括下压块、上压块和锁合机构,轨道的两侧均具有第一伸出沿,支撑梁的两侧均具有第二伸出沿,通过下压块、上压块和锁合机构的配合使位于同一侧的第一伸出沿和第二伸出沿被夹持在上压块和下压块之间,实现支撑梁和轨道的连接,增大了施工空间,操作方便,提高了效率。


