授权公布号:CN216699908U
一种光伏组件的柔性稳定支撑结构
有效
申请
2021-12-31
申请公布
1970-01-01
授权
2022-06-07
预估到期
2031-12-31
| 申请号 | CN202123413748.9 |
| 申请日 | 2021-12-31 |
| 授权公布号 | CN216699908U |
| 授权公告日 | 2022-06-07 |
| 分类号 | H02S20/30 |
| 分类 | 发电、变电或配电; |
| 申请人名称 | 泰州东升新能源科技有限公司 |
| 申请人地址 | 江苏省泰州市海陵区凤凰东路60号文创大厦11楼 |
专利法律状态
2022-06-07
授权
状态信息
授权
摘要
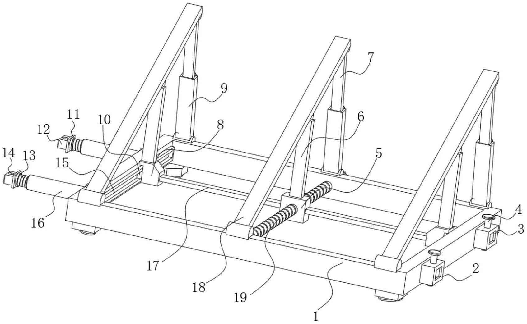
本实用新型提供一种光伏组件的柔性稳定支撑结构,包括主框架,所述主框架内侧的两侧固定连接有滑轨A,所述滑轨A的内侧滑动连接有滑块A,所述滑块A表面的一侧固定连接有安装座,所述主框架内侧的两端固定连接有螺纹杆B,且螺纹杆B的一端延伸至主框架的外部。本实用新型提供的光伏组件的柔性稳定支撑结构通过转动螺纹杆B带动三组固定柱进行移动,从而可根据实际的安装需求进行调节安装板的角度,提高该支撑结构的适用性,当确定安装板的角度后,通过拧动固定螺栓B对内套板和外套板进行固定,从而对安装板进行辅助支撑,提高安装板上的光伏组件放置的稳定性。


