授权公布号:CN205986737U
可调式太阳能电池组件支架
有效
申请
2016-08-25
申请公布
1970-01-01
授权
2017-02-22
预估到期
2026-08-25
| 申请号 | CN201620934417.X |
| 申请日 | 2016-08-25 |
| 授权公布号 | CN205986737U |
| 授权公告日 | 2017-02-22 |
| 分类号 | H02S20/30 |
| 分类 | 发电、变电或配电; |
| 申请人名称 | 保定中泰新能源科技有限公司 |
| 申请人地址 | 河北省保定市蠡县永盛北大街高新技术产业园 |
专利法律状态
2017-02-22
授权
状态信息
授权
摘要
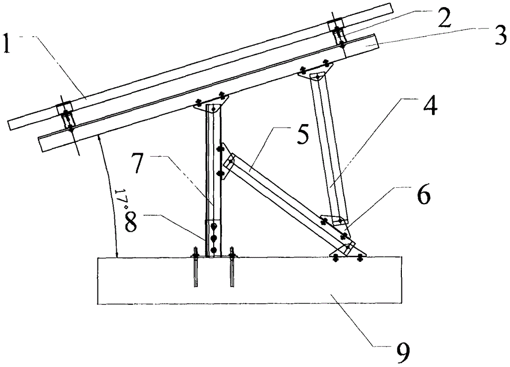
本实用新型公开了一种可调式太阳能电池组件支架,包括支撑梁和立柱,还包括与所述支撑梁相连接的调节杆,所述支撑梁由横梁和与所述横梁固定连接的斜梁组成,所述调节杆一端通过转角连接件连接在所述斜梁上,所述调节杆另一端通过转角连接件连接在斜撑杆上,所述斜撑杆一端通过转角连接件连接在立柱上,所述立柱一端与所述斜梁相连接,所述斜撑杆另一端和所述立柱另一端与待安装位置固定连接,所述支撑梁、所述调节杆、所述立柱和所述斜撑杆上均设有定位孔。本实用新型采用上述结构的一种可调式太阳能电池组件支架安装便捷,同时可以根据实际的情况调整支架倾斜角度,使太阳能电池组件保持在最佳倾斜角度,提高发电效率。


