授权公布号:CN205050842U
一种焊带与汇流带的连接结构
失效
申请
2015-10-30
申请公布
1970-01-01
授权
2016-02-24
预估到期
2025-10-30
| 申请号 | CN201520850859.1 |
| 申请日 | 2015-10-30 |
| 授权公布号 | CN205050842U |
| 授权公告日 | 2016-02-24 |
| 分类号 | H01L31/02;H01L31/05 |
| 分类 | 基本电气元件; |
| 申请人名称 | 保定中泰新能源科技有限公司 |
| 申请人地址 | 河北省保定市蠡县永盛北大街高新技术产业园 |
专利法律状态
2023-11-10
专利权的终止
状态信息
未缴年费专利权终止;IPC(主分类):H01L 31/02;专利号:ZL2015208508591;申请日:20151030;授权公告日:20160224;终止日期:
2016-02-24
授权
状态信息
授权
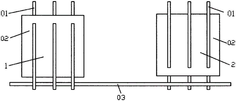
摘要
本实用新型公开了一种焊带与汇流带的连接结构,包括按照左右间隔排列的两块太阳能电池片和设于太阳能电池片下方的汇流带,位于左侧的太阳能电池片的电池片背面往下方引出有若干条焊带,位于右侧的太阳能电池片的电池片正面往下方引出有若干条焊带,所述电池片背面引出的焊带焊接于汇流带的上表面,所述电池片正面引出的焊带焊接于汇流带的下表面;本实用新型采用穿插的结构放置汇流带,使得焊带与汇流带同时反向对太阳能电池片均匀、平衡用力,对太阳能电池片影响减少,降低了其碎片率。


