授权公布号:CN205147851U
一种边框切割机
有效
申请
2015-10-30
申请公布
1970-01-01
授权
2016-04-13
预估到期
2025-10-30
| 申请号 | CN201520850825.2 |
| 申请日 | 2015-10-30 |
| 授权公布号 | CN205147851U |
| 授权公告日 | 2016-04-13 |
| 分类号 | B23Q3/02;B23D59/00 |
| 分类 | 机床;不包含在其他类目中的金属加工; |
| 申请人名称 | 保定中泰新能源科技有限公司 |
| 申请人地址 | 河北省保定市蠡县永盛北大街高新技术产业园 |
专利法律状态
2016-04-13
授权
状态信息
授权
摘要
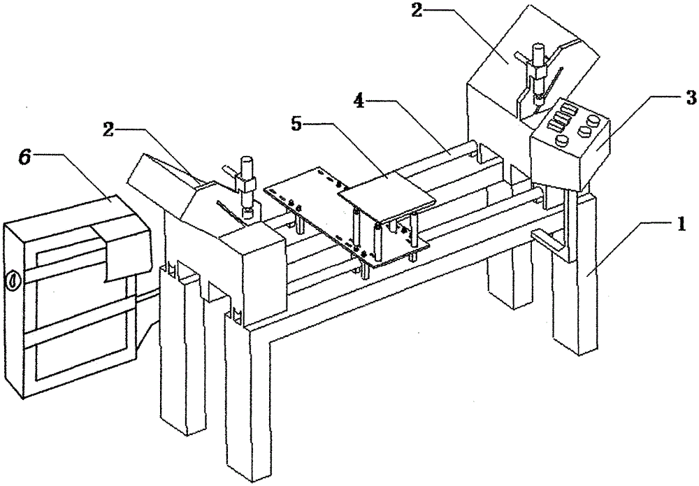
本实用新型公开了一种边框切割机,包括机架以及设置在机架两侧的锯切机,机架一端设有动力箱,还包括设置在机架上的控制箱,所述的机架上设有导杆,所述的导杆上设置有托料架,所述的托料架包括固定板以及平行设置在固定板上方的托料板,固定板上设置有多个安装腰孔,安装腰孔上固定有支杆,支杆顶部通过内螺纹旋接有调节螺杆,所述的托料板安装在调节螺杆上,所述的固定板下方通过螺丝固定有多个定位板,所述的定位板上开设有与导杆适配的安装槽,安装槽上设有夹紧螺栓;本实用新型通过机架上通过导杆活动设置有托料架,对切割中的边框起到支撑作用,从而消除原材料的弯曲现象,使加工的角度、长度均能达到图纸要求,避免由于原材料问题产出的不合格品。


