授权公布号:CN215789311U
一种太阳能组件测试仪固定装置
有效
申请
2021-07-23
申请公布
1970-01-01
授权
2022-02-11
预估到期
2031-07-23
| 申请号 | CN202121695200.5 |
| 申请日 | 2021-07-23 |
| 授权公布号 | CN215789311U |
| 授权公告日 | 2022-02-11 |
| 分类号 | B25B11/00;G01L1/00 |
| 分类 | 手动工具;轻便机动工具;手动器械的手柄;车间设备;机械手; |
| 申请人名称 | 保定中泰新能源科技有限公司 |
| 申请人地址 | 河北省保定市蠡县永盛北大街高新技术产业园(公园东路333号) |
专利法律状态
2022-02-11
授权
状态信息
授权
摘要
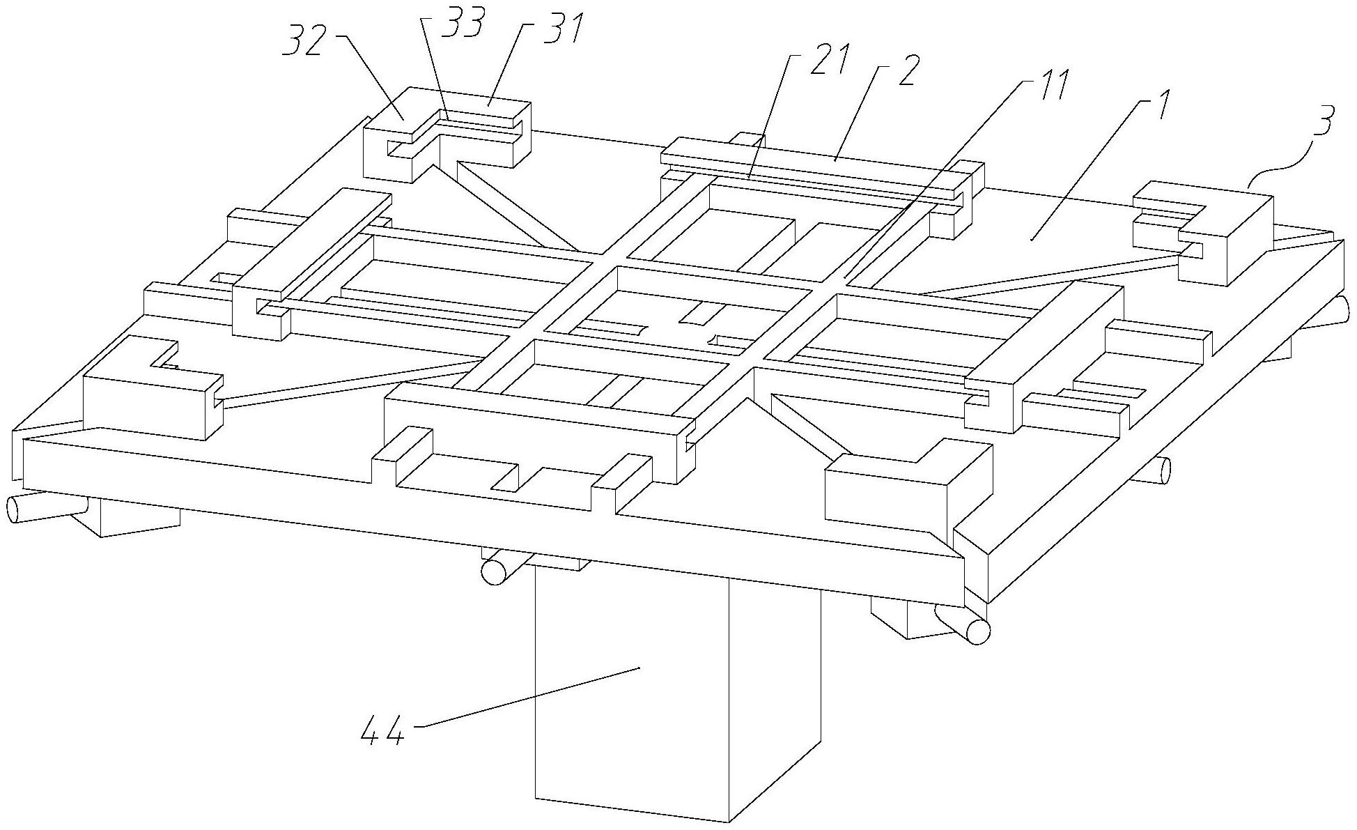
本实用新型涉及太阳能测试仪技术领域,提出了一种太阳能组件测试仪固定装置,包括底板;第一夹紧机构,用于夹紧在太阳能板的四个边上,第一夹紧机构包括:第一夹紧部,第一夹紧部为四个,四个第一夹紧部呈四边形布置在底板上,四个第一夹紧部同步向内或同步向外滑动;第二夹紧机构,用于夹紧在太阳能板的四个角上,第二夹紧机构包括:第二夹紧部,第二夹紧部包括第一夹板和第二夹板,第一夹板与第二夹板垂直,第二夹紧部为四个,均设置在底板上,分别位于相邻的两个第一夹紧部之间,四个第二夹紧部同步向内或同步向外滑动。通过上述技术方案,解决了现有技术中的太阳能测试仪的夹持装置无法适用多种不同大小的太阳能板的问题。


