授权公布号:CN213318713U
一种光伏组件边框组框装置
有效
申请
2020-10-10
申请公布
1970-01-01
授权
2021-06-01
预估到期
2030-10-10
| 申请号 | CN202022246507.9 |
| 申请日 | 2020-10-10 |
| 授权公布号 | CN213318713U |
| 授权公告日 | 2021-06-01 |
| 分类号 | B23P19/00 |
| 分类 | 机床;不包含在其他类目中的金属加工; |
| 申请人名称 | 保定中泰新能源科技有限公司 |
| 申请人地址 | 河北省保定市蠡县永盛北大街高新技术产业园 |
专利法律状态
2021-06-01
授权
状态信息
授权
摘要
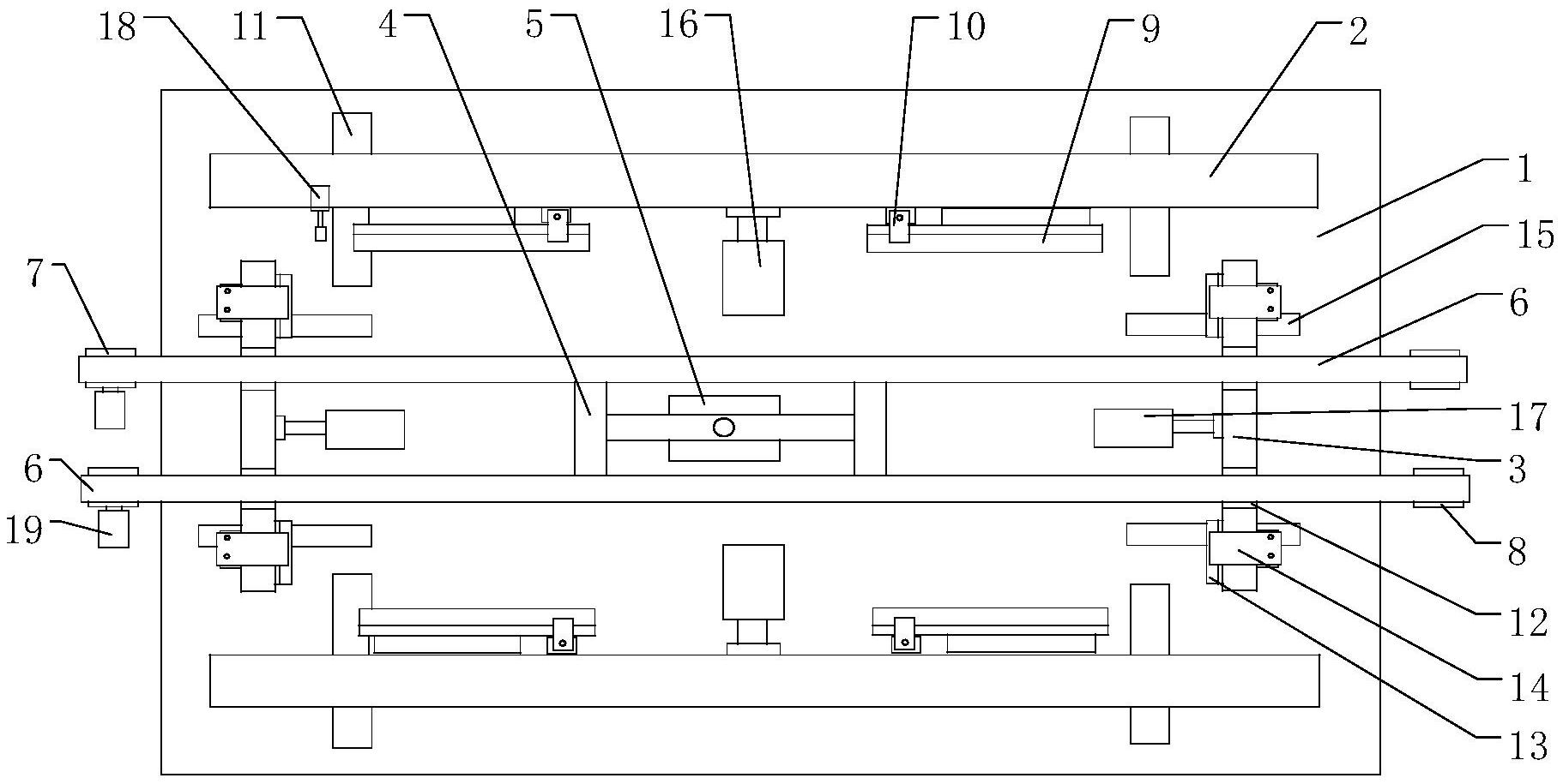
本实用新型公开了一种光伏组件边框组框装置,包括底座,底座分别通过滑动机构一和滑动机构二与纵梁、横梁滑动连接,纵梁与横梁相互垂直并位于同一平面内,横梁位于两个纵梁之间。纵梁相对的侧面上设置有支撑座一,纵梁上气缸的伸缩杆上设置有压板一;横梁相对的侧面上设置有支撑座二,横梁上气缸的伸缩杆上设置有压板二。底座的中部设置有支撑架,支撑架上设置有两个相互平行的输送带,支撑架上设置有带动输送带转动的转动机构。底座上设置有气缸一,气缸一的伸缩杆与支撑架连接;横梁上设置有用于放置输送带的凹槽。本实用新型采用上述结构的光伏组件边框组框装置,能够解决现有的组框装置不能在线组装的问题,提高了生产效率。


