授权公布号:CN212720996U
商用洗碗机废水热回收节能装置
有效
申请
2020-05-08
申请公布
1970-01-01
授权
2021-03-16
预估到期
2030-05-08
| 申请号 | CN202020739456.0 |
| 申请日 | 2020-05-08 |
| 授权公布号 | CN212720996U |
| 授权公告日 | 2021-03-16 |
| 分类号 | F28D7/02;F28F13/12;A47L15/00 |
| 分类 | 一般热交换; |
| 申请人名称 | 青岛美洁尔智能科技有限公司 |
| 申请人地址 | 山东省青岛市市北区延安三路114号1单元1603户 |
专利法律状态
2021-03-16
授权
状态信息
授权
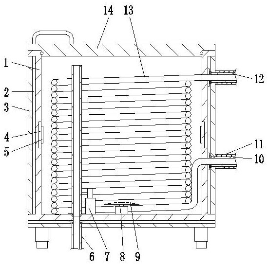
摘要
本实用新型公开了商用洗碗机废水热回收节能装置,包括热回收箱,热回收箱的内部安装有热交换盘管和升降溢流管组件,热回收箱的右侧通过连接组件安装有盘管进水胶管和盘管出水胶管,升降溢流管组件包括固定安装在热回收箱内部下表面的电动推杆,电动推杆的伸缩杆左侧通过连接块固定安装有溢流管,热回收箱的出水口上侧开设有内倒角,溢流管的下侧开设有外倒角,内倒角的上表面与外倒角的下表面固定安装有密封套。本装置能够保证洗碗机使用热回收性能的同时,通过升降溢流管组件、超声波振荡器等结构的配合,对使用后的热回收箱内部进行自动清理和废水排放,减少劳动量、清理效果好。


