授权公布号:CN207586177U
一种用于小麦胚芽紧致紧肤霜的质量检测设备
有效
申请
2017-12-06
申请公布
1970-01-01
授权
2018-07-06
预估到期
2027-12-06
| 申请号 | CN201721710235.5 |
| 申请日 | 2017-12-06 |
| 授权公布号 | CN207586177U |
| 授权公告日 | 2018-07-06 |
| 分类号 | G01N29/02 |
| 分类 | 测量;测试; |
| 申请人名称 | 广州爱韵生物科技有限公司 |
| 申请人地址 | 广东省广州市增城区新塘镇环保三路2号(办公楼B1) |
专利法律状态
2023-09-19
专利申请权、专利权的转移
状态信息
专利权的转移;IPC(主分类):G01N 29/02;专利号:ZL2017217102355;登记生效日:20230901;变更事项:专利权人;变更前权利人:广州爱韵生物科技有限公司;变更后权利人:广州天然国度生物科技有限公司;变更事项:地址;变更前权利人:510000 广东省广州市白云区机场路24号702房;变更后权利人:511300 广东省广州市增城区新塘镇环保三路2号(办公楼B1)
2018-07-06
授权
状态信息
授权
摘要
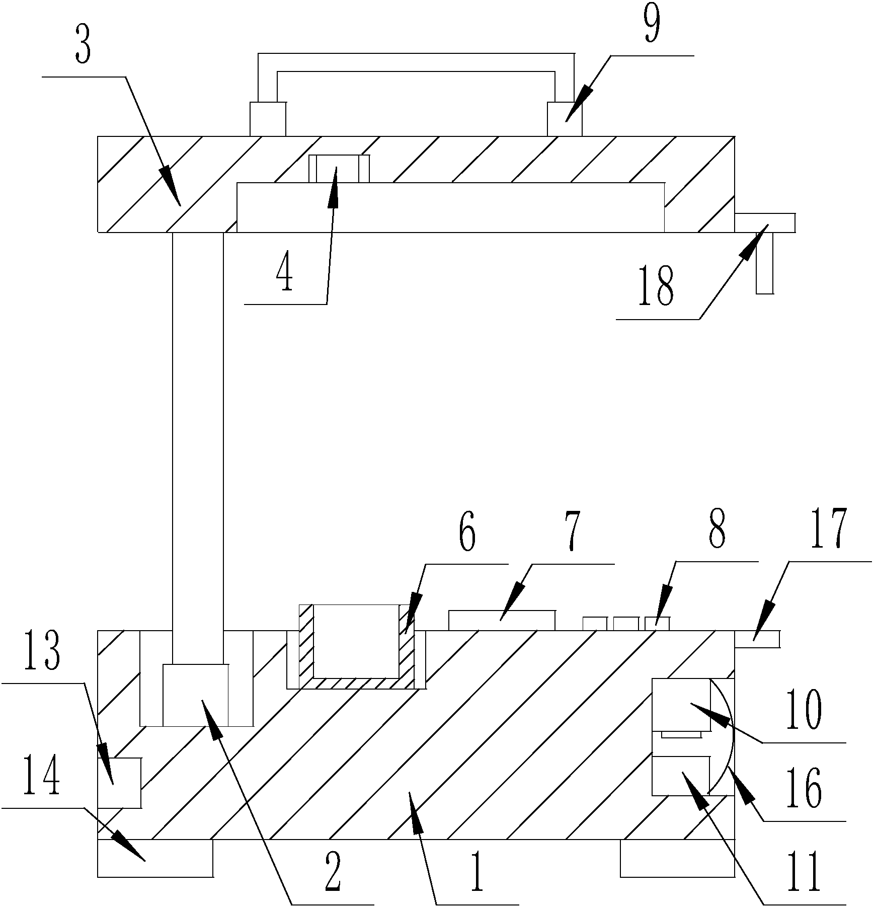
本实用新型公开了一种用于小麦胚芽紧致紧肤霜的质量检测设备,包括底座,所述底座上表面左侧加工有一对圆槽,一对所述圆槽内均设有伸缩端向上的电动伸缩杆,每个所述电动伸缩杆伸缩端共同连接有顶盖,所述顶盖内上表面左侧加工有矩形槽,所述矩形槽内嵌装有超声波传感器,所述顶盖内上表面左侧且位于矩形槽前后方均加工有一号凹槽,每个所述一号凹槽内均设有LED节能灯,所述底座上表面且位于矩形槽下方加工有二号凹槽。本实用新型的有益效果是,能防止内部落灰,减少清理的麻烦,能进行照明,减少影响检测结果的因素,同时也便于随身携带,可提高普通消费者对化妆品质量的快速检测能力,结构简单,操作方便,经济实用。


