授权公布号:CN218493776U
改善清洗机漏水漏油结构及清洗机
有效
申请
2022-10-28
申请公布
1970-01-01
授权
2023-02-17
预估到期
2032-10-28
| 申请号 | CN202222869574.5 |
| 申请日 | 2022-10-28 |
| 授权公布号 | CN218493776U |
| 授权公告日 | 2023-02-17 |
| 分类号 | F04B53/02;F04B53/16;B08B13/00 |
| 分类 | 液体变容式机械;液体泵或弹性流体泵; |
| 申请人名称 | 上海亿力电器有限公司 |
| 申请人地址 | 上海市闵行区向阳路1318号2幢 |
专利法律状态
2023-02-17
授权
状态信息
授权
摘要
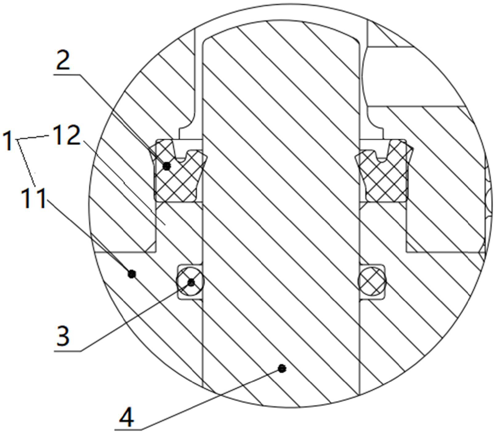
本实用新型提供了一种涉及清洗机电动泵领域的改善清洗机漏水漏油结构及清洗机,包括泵体、水封、密封圈以及柱塞,水封和密封圈分别连接于泵体内壁上,柱塞滑动连接于泵体内。本实用新型中泵体设计出与连接支架相同结构并替换,结构简单,减少装配工序;泵体只需要一个内孔同轴度,降低加工难度,提高生产率,且柱塞在运动过程中不会与凸起发生碰擦,不会导致水封和密封圈的损伤,从而将清洗机漏油、漏水的风险降到最低。


