授权公布号:CN214019593U
一种过滤器排水接头
有效
申请
2020-10-21
申请公布
1970-01-01
授权
2021-08-24
预估到期
2030-10-21
| 申请号 | CN202022358006.X |
| 申请日 | 2020-10-21 |
| 授权公布号 | CN214019593U |
| 授权公告日 | 2021-08-24 |
| 分类号 | B01D35/02;B01D35/30 |
| 分类 | 一般的物理或化学的方法或装置; |
| 申请人名称 | 汉斯希尔贸易(上海)有限公司 |
| 申请人地址 | 上海市静安区永和路118弄25号东利科技大厦 |
专利法律状态
2021-08-24
授权
状态信息
授权
摘要
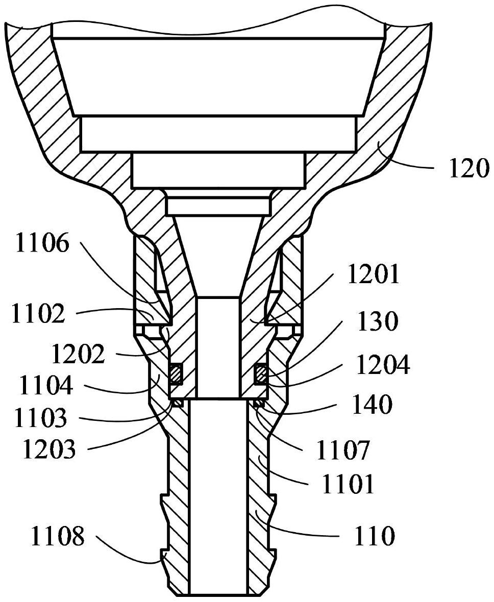
本申请实施例提供了一种过滤器排水接头,涉及机械领域,以解决当转动过滤器时排水软管会出现扭曲缠绕的问题。所述过滤器排水接头包括:出水管路和弹性卡勾,所述出水管路与过滤器的排水管路对接,所述出水管路的第一端面与所述过滤器的排水管路的第二端面抵接,所述过滤器的排水管路的外周设置有环形的卡接台,所述弹性卡勾的端面与所述卡接台抵接,所述第二端面与所述卡接台夹设在所述弹性卡勾的端面与所述第一端面之间,所述弹性卡勾的端面在所述卡接台上可滑动。本申请用于排水。


