授权公布号:CN110367873B
多电源分体式吸尘器及其供电方法
有效
申请
2018-04-13
申请公布
2019-10-25
授权
2021-05-28
预估到期
2038-04-13
| 申请号 | CN201810330071.6 |
| 申请日 | 2018-04-13 |
| 申请公布号 | CN110367873A |
| 申请公布日 | 2019-10-25 |
| 授权公布号 | CN110367873B |
| 授权公告日 | 2021-05-28 |
| 分类号 | H02J7/36;H02J7/00;A47L5/24;A47L9/10;A47L9/28 |
| 分类 | 发电、变电或配电; |
| 申请人名称 | 添可电器有限公司 |
| 申请人地址 | 江苏省苏州市吴中区石湖西路108号 |
专利法律状态
2021-05-28
授权
状态信息
授权
2019-11-26
实质审查的生效
状态信息
实质审查的生效;IPC(主分类):A47L5/24;申请日:20180413
2019-10-25
公布
状态信息
公布
摘要
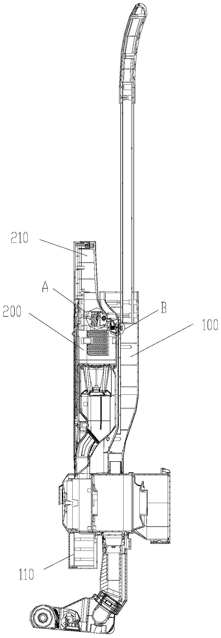
一种多电源分体式吸尘器及其供电方法,该吸尘器包括主体部分(100)和手持吸尘器部分(200),手持吸尘器部分包含有第二电池包(210),主体部分包含有第一电池包(110);多电源分体式吸尘器上还设置有电源切换模块;当手持吸尘器部分和主体部分组合成整机时,电源切换模块控制供电线路与第二电池包断开,转而与第一电池包相连,为整机供电。本发明通过设置不同的电池包,既有利于主体部分和手持吸尘器部分的供电,又有效平衡了整机的重量,结构简单、重心位置合理,整机使用轻便。


