授权公布号:CN209032112U
一种尘桶组件及吸尘器
有效
申请
2017-12-11
申请公布
1970-01-01
授权
2019-06-28
预估到期
2027-12-11
| 申请号 | CN201721713987.7 |
| 申请日 | 2017-12-11 |
| 授权公布号 | CN209032112U |
| 授权公告日 | 2019-06-28 |
| 分类号 | A47L5/24;A47L9/00 |
| 分类 | 家具;家庭用的物品或设备;咖啡磨;香料磨;一般吸尘器; |
| 申请人名称 | 添可电器有限公司 |
| 申请人地址 | 江苏省苏州市吴中区石湖西路108号 |
专利法律状态
2019-06-28
授权
状态信息
授权
摘要
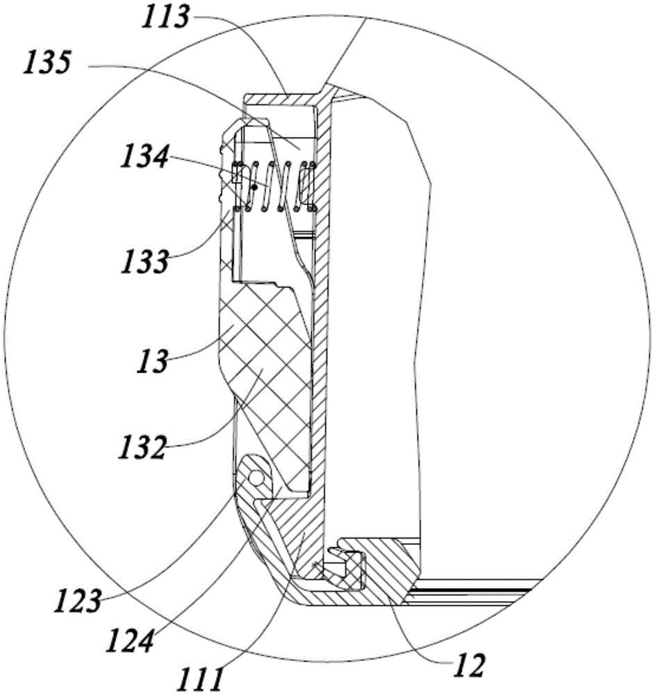
本实用新型提供一种尘桶组件(1)及吸尘器(100),包括具有出尘口的桶体(11)以及枢转连接于桶体(11)上的盖体(12),桶体(11)上凸设有凸块(111),盖体(12)上设有与凸块(111)相扣合的卡钩(123),卡钩(123)与凸块(111)相扣合后,卡钩(123)与桶体(11)之间具有第一间隙(124);尘桶组件(1)还包括设于桶体(11)上的解锁机构(13),解锁机构(13)包括与桶体(11)转动连接且能够在初始位置和推出位置之间切换的推板(132)、连接于推板(132)远离凸块(111)的一侧的操作板(133),推板(132)处于初始位置时,操作板(133)与桶体(11)之间具有第二间隙(135);结构简单且操作方便、省力,便于用户轻松地打开盖体。


