授权公布号:CN210300883U
一种地面蒸汽清洁装置
有效
申请
2019-04-04
申请公布
1970-01-01
授权
2020-04-14
预估到期
2029-04-04
| 申请号 | CN201920461364.8 |
| 申请日 | 2019-04-04 |
| 授权公布号 | CN210300883U |
| 授权公告日 | 2020-04-14 |
| 分类号 | A47L13/22;A47L13/42 |
| 分类 | 家具;家庭用的物品或设备;咖啡磨;香料磨;一般吸尘器; |
| 申请人名称 | 佛山市顺德区盛熙电器制造有限公司 |
| 申请人地址 | 广东省佛山市顺德区顺德高新区(容桂)华天西二路1号之一 |
专利法律状态
2020-04-14
授权
状态信息
授权
摘要
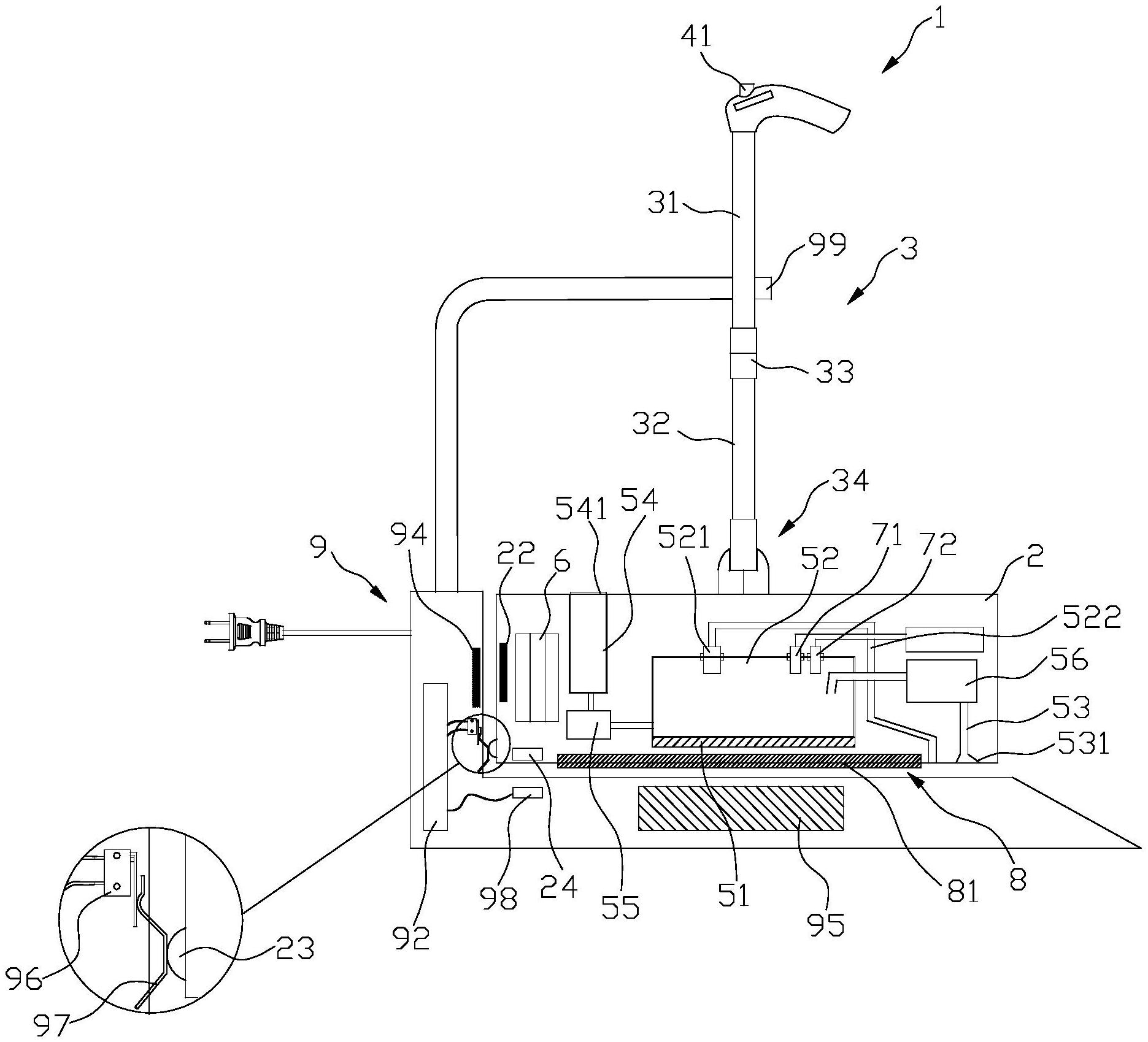
本实用新型提供一种地面蒸汽清洁装置,包括本体和手柄,手柄连接在本体上部;本体设有控制电路、清洁机构、蒸汽发生装置和储水容器;清洁机构设于本体下侧,蒸汽发生装置设有蒸汽室,蒸汽室设有向清洁机构输送蒸汽的蒸汽通道,储水容器通过第一开关装置与蒸汽室连通,控制电路控制第一开关装置向蒸汽室供水,还包括电源模块,电源模块与控制电路电连接,蒸汽发生装置设有储热模块,储热模块可被外置的加热基座加热,加热的储热模块使蒸汽室内的水体蒸发产生蒸汽。本实用新型的一种地面蒸汽清洁装置,使用时无需通过电源线连接外电源,其清洁范围不受限制。


