授权公布号:CN218470532U
一种NDIR红外气体传感器
有效
申请
2022-04-14
申请公布
1970-01-01
授权
2023-02-10
预估到期
2032-04-14
| 申请号 | CN202220854568.X |
| 申请日 | 2022-04-14 |
| 授权公布号 | CN218470532U |
| 授权公告日 | 2023-02-10 |
| 分类号 | G01N21/3504;G01N21/01 |
| 分类 | 测量;测试; |
| 申请人名称 | 厦门美时美克空气净化有限公司 |
| 申请人地址 | 福建省厦门市火炬高新区创业园伟业楼北楼407 |
专利法律状态
2023-02-10
授权
状态信息
授权
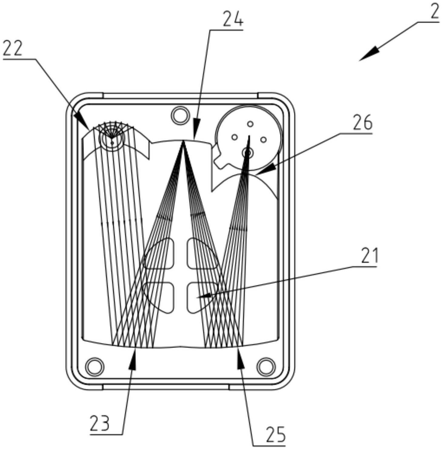
摘要
本实用新型公开了一种NDIR红外气体传感器,包括气腔上盖和电路板;气腔上盖和电路板配合形成封闭的光路气腔;在气腔上盖上设置有进气孔;气腔上盖内侧设置有灯源反射面、一级反射面、二级反射面、三级反射面和接收器反射面,灯源反射面、二级反射面和接收器反射面位于光路气腔的同侧,一级反射面和三级反射面位于光路气腔的另一侧;电路板上设置有灯源和接收器,灯源和接收器设置于所述电路板的相邻的两角,并分别位于灯源反射面和接收器反射面的聚焦点;灯源光线通过5次反射形成一个W型光路,让光线多次经过二氧化碳气体,从而提高气体对红外光的吸收率。本NDIR红外气体传感器具有测量精度高、结构简单、成本低等特点。


