授权公布号:CN220654109U
一种修枝剪保护套
有效
申请
2023-08-28
申请公布
1970-01-01
授权
2024-03-26
预估到期
2033-08-28
| 申请号 | CN202322320906.9 |
| 申请日 | 2023-08-28 |
| 授权公布号 | CN220654109U |
| 授权公告日 | 2024-03-26 |
| 分类号 | A01G3/02 |
| 分类 | 农业;林业;畜牧业;狩猎;诱捕;捕鱼; |
| 申请人名称 | 宁波得力工具有限公司 |
| 申请人地址 | 浙江省宁波市宁海县黄坛镇车站西路128号办公楼2层(自主申报) |
专利法律状态
2024-03-26
授权
状态信息
授权
摘要
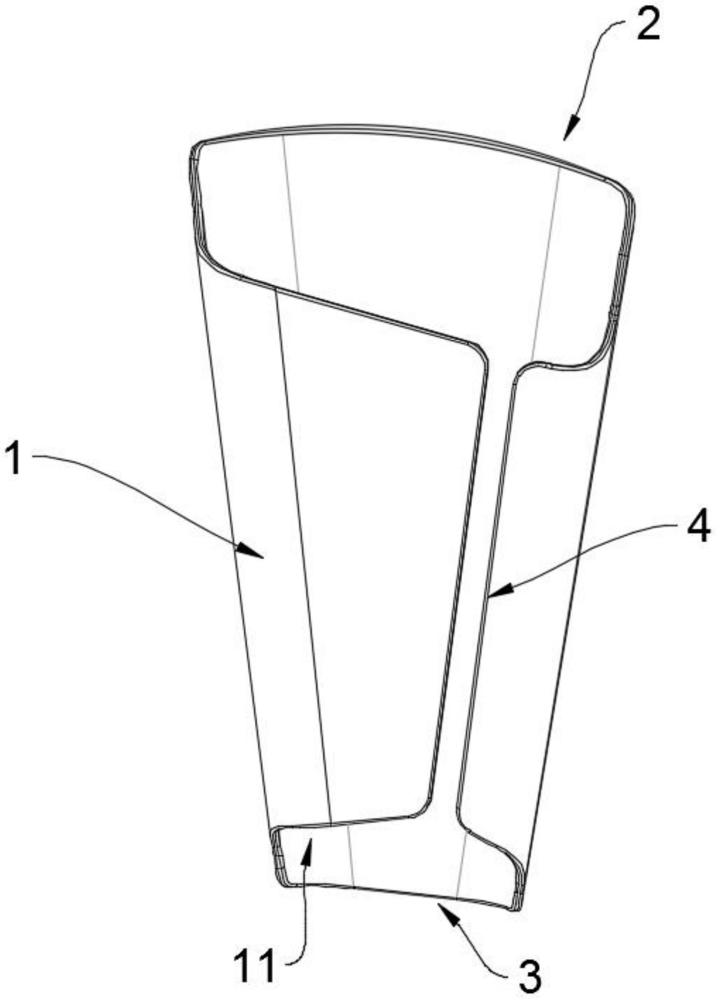
本实用新型涉及园林剪技术领域,公开了一种修枝剪保护套,包括护套,所述护套的上端开设有上部开口,所述护套的下端开设有下部开口,所述上部开口的面积大于所述下部开口的面积,所述护套自上而下逐渐收缩变小,所述护套的侧面沿修枝剪插入到护套内部的方向开设有侧缝,所述护套的外表面设置有挂置结构。通过开设侧缝,便于在护套的内部放置不同尺寸的修枝剪,当较大的修枝剪放置到护套内部后,通过侧缝,可以使护套的内内部空间腔被撑大,而护套自身不会破损,从而满足不同尺寸修枝剪的存放,通过在护套的下端开设下部开口,在当修枝剪从上部开口处放入到护套的内部后,使得修枝剪的剪刀头不会被抵挡。


