授权公布号:CN220646132U
吸能降噪氧气泵
有效
申请
2023-08-28
申请公布
1970-01-01
授权
2024-03-22
预估到期
2033-08-28
| 申请号 | CN202322318390.4 |
| 申请日 | 2023-08-28 |
| 授权公布号 | CN220646132U |
| 授权公告日 | 2024-03-22 |
| 分类号 | F04B39/00;F04B39/12;F16F15/02;F16F15/08;F04B45/04;A01K63/04 |
| 分类 | 液体变容式机械;液体泵或弹性流体泵; |
| 申请人名称 | 宁波得力工具有限公司 |
| 申请人地址 | 浙江省宁波市宁海县黄坛镇车站西路128号办公楼2层 |
专利法律状态
2024-03-22
授权
状态信息
授权
摘要
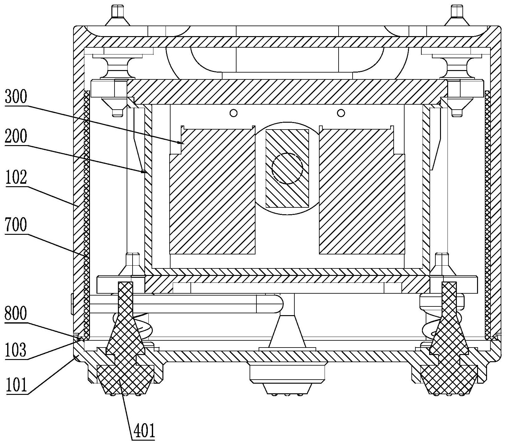
本实用新型公开了一种吸能降噪氧气泵,包括外腔室本体、内腔室本体以及氧气泵本体,外腔室本体的底部设有减震支撑装置,内腔室本体的底端与外腔室本体的底端之间设有用于支撑内腔室本体的底部阻尼减震装置,内腔室本体的顶端与外腔室本体的顶端之间用于悬挂内腔室本体的设有顶部减震削振装置;顶部减震削振装置与底部阻尼减震装置之间的牵引互动可形成复合吸能降噪结构,可以最大程度的消减共振现象,避免噪音的加大,并且由于震动源的传递路线增加、震动源传导路线加长,可实现多级传递衰减;氧气泵整体通过阻尼吸收消能与多级传递衰减,能够有效地吸收和衰减震动产生的能量与噪音,其结构稳定,降噪效果明显。


