授权公布号:CN217429518U
一种壁挂式可折叠多功能置物柜
有效
申请
2022-03-28
申请公布
1970-01-01
授权
2022-09-16
预估到期
2032-03-28
| 申请号 | CN202220696761.5 |
| 申请日 | 2022-03-28 |
| 授权公布号 | CN217429518U |
| 授权公告日 | 2022-09-16 |
| 分类号 | A47B46/00;A47B55/00;A47B81/00;A47B85/06 |
| 分类 | 家具;家庭用的物品或设备;咖啡磨;香料磨;一般吸尘器; |
| 申请人名称 | 青岛澳柯玛智能家居有限公司 |
| 申请人地址 | 山东省青岛市胶州市茶庵路凯金大厦103室 |
专利法律状态
2022-09-16
授权
状态信息
授权
摘要
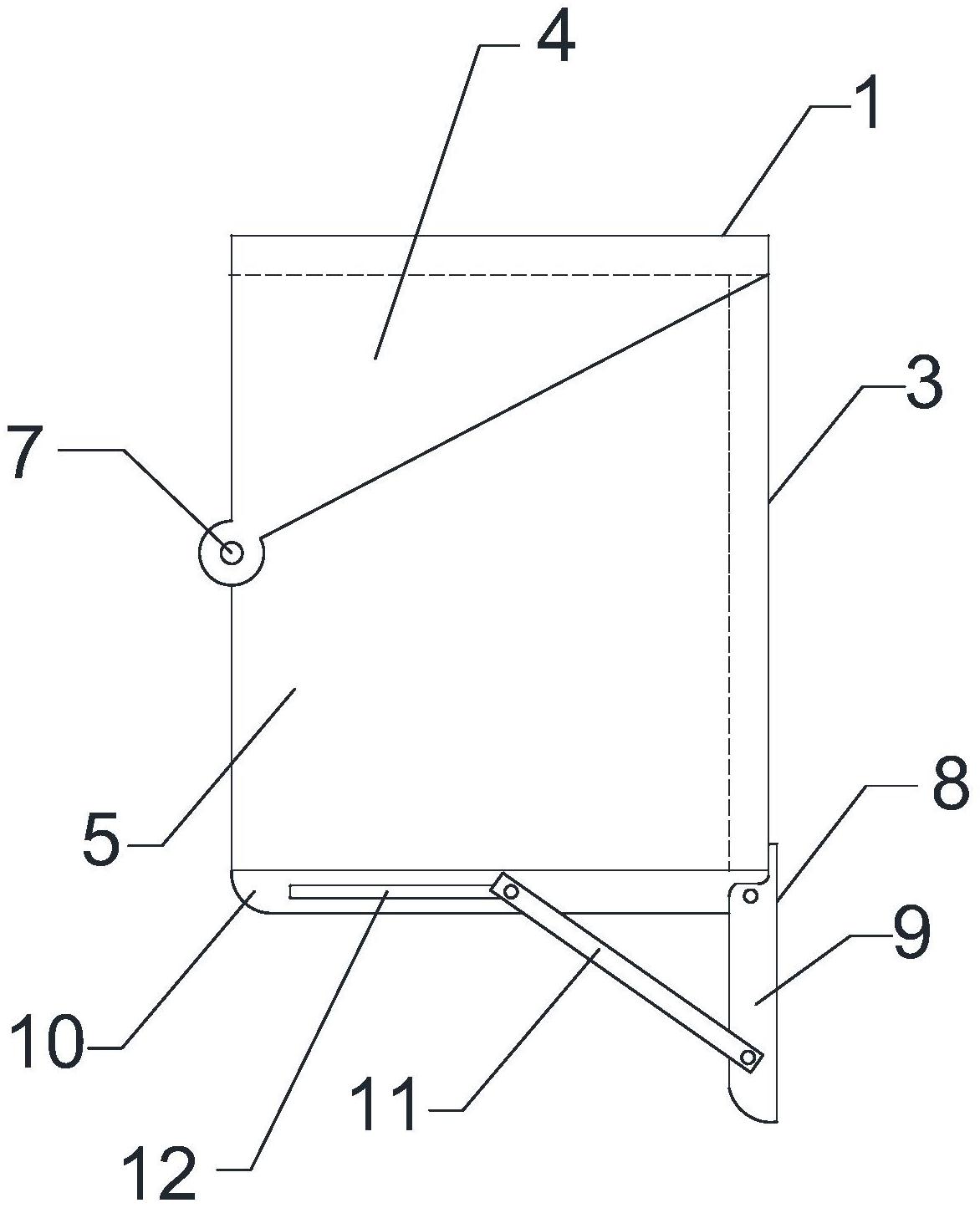
本实用新型公开了一种壁挂式可折叠多功能置物柜,包括上箱体、下箱体、背板和转轴;上箱体包括顶板和左、右两块纵向设置上侧板;下箱体包括底板和左、右两块纵向设置的下侧板;下箱体的内侧与背板固定连接,外侧与上箱体通过转轴铰接;背板尺寸与上箱体和下箱体形成的框架内尺寸相同;上箱体板转动至转轴上止点时,上箱体和下箱体拼接呈外侧开口的矩形框架结构;上箱体转动至转轴下止点时,顶板和底板处于同一水平面,上侧板和下侧板接触面呈端面对接。本实用新型安装简单方便,易于操作,通过折叠式设计既可以用于收纳,又可以展开形成桌面置物,壁挂式的设计还可以解决空间不足的问题,实现了定制类置物柜的多功能性。


