授权公布号:CN216991684U
一种多功能柜体类家具明装拉手
有效
申请
2021-12-30
申请公布
1970-01-01
授权
2022-07-19
预估到期
2031-12-30
| 申请号 | CN202123443972.2 |
| 申请日 | 2021-12-30 |
| 授权公布号 | CN216991684U |
| 授权公告日 | 2022-07-19 |
| 分类号 | B25B15/00;A47B95/02 |
| 分类 | 手动工具;轻便机动工具;手动器械的手柄;车间设备;机械手; |
| 申请人名称 | 青岛澳柯玛智能家居有限公司 |
| 申请人地址 | 山东省青岛市胶州市茶庵路凯金大厦103室 |
专利法律状态
2022-07-19
授权
状态信息
授权
摘要
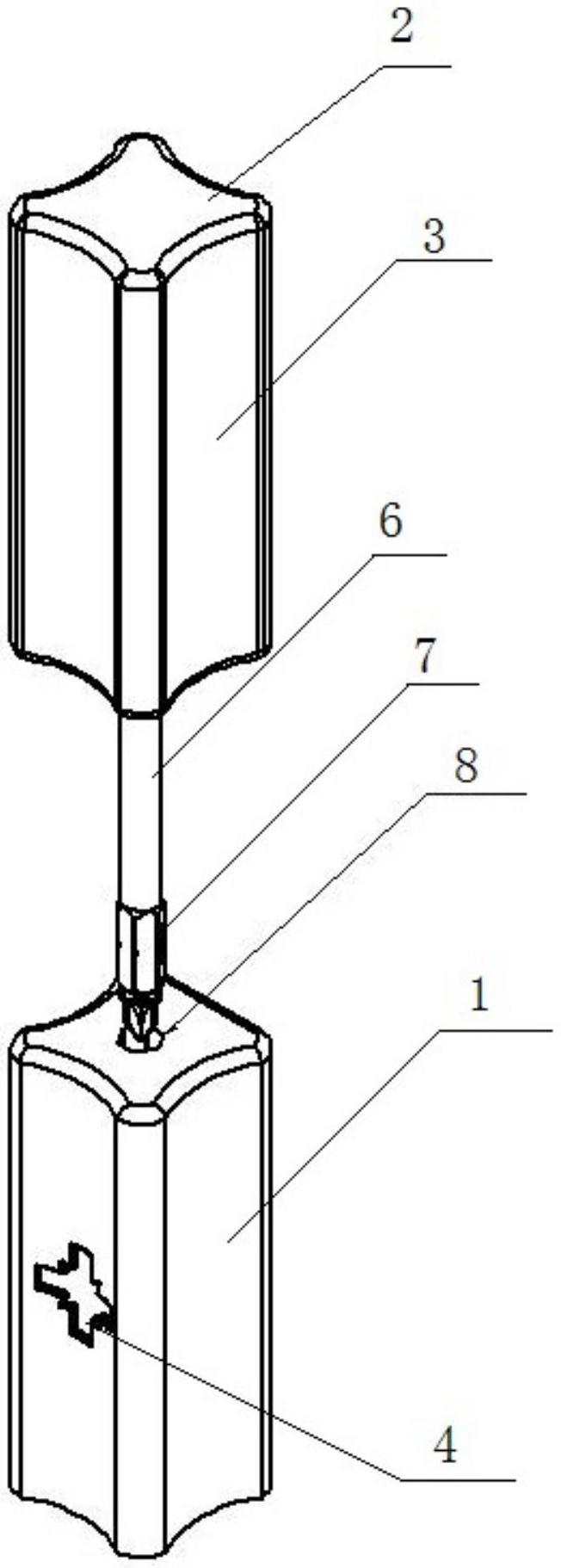
本实用新型涉及一种多功能柜体类家具明装拉手,包括底座和螺丝刀;所述底座固定于门板上,底座上端面中央部位设有插孔,插孔延伸至底座底部;所述螺丝刀从上至下包括刀柄、刀杆、批头,底座上的插孔与螺丝刀的刀杆和批头相适配,螺丝刀的刀杆和批头可以全部插入底座的插孔中。将螺丝刀这一类加工工具闲置时作为家具门板拉手,解决螺丝刀在家居生活中难以翻找,占用存储空间的问题,而且有效解决了柜体类家具门板拉手实用功能单一的问题。


