授权公布号:CN209325526U
一种具有净化空气功效的LED壁灯
有效
申请
2018-12-19
申请公布
1970-01-01
授权
2019-08-30
预估到期
2028-12-19
| 申请号 | CN201822138541.7 |
| 申请日 | 2018-12-19 |
| 授权公布号 | CN209325526U |
| 授权公告日 | 2019-08-30 |
| 分类号 | F21S8/00;F21V29/67;F21V33/00;F21Y115/10N |
| 分类 | 照明; |
| 申请人名称 | 东莞钜鼎照明有限公司 |
| 申请人地址 | 广东省东莞市大朗镇水口工业区 |
专利法律状态
2019-08-30
授权
状态信息
授权
摘要
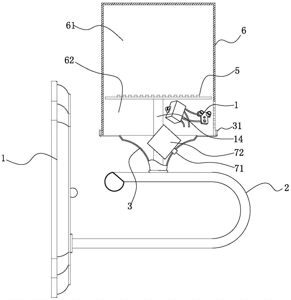
本实用新型公开一种具有净化空气功效的LED壁灯,其包括底座、设于该底座上的支架、安装于该支架上的底盘、安装于底盘上的灯座及安装于灯座上的发光体和安装于底盘上并罩盖于该发光体外围的灯罩,所述灯座将灯罩内部空间分隔成上腔体和下腔体,所述发光体置于该上腔体中;所述灯罩的下腔体设有用于净化空气的空气净化装置,该灯罩下部对于该下腔体的位置设有复数通风孔,所述空气净化装置朝向该通风孔;所述灯罩表面涂覆有光触媒层。本实用新型新增设空气净化装置用于净化空气,且所述灯罩上涂覆的光触媒层在光作用下可对空气起到杀菌分解污染物等净化作用,以致使本实用新型不仅具有照明功能,同时还具有极强的净化空气的功能,提高市场竞争力。


