授权公布号:CN206545921U
风扇灯用同步电机固定架结构
失效
申请
2017-01-16
申请公布
1970-01-01
授权
2017-10-10
预估到期
2027-01-16
| 申请号 | CN201720055389.9 |
| 申请日 | 2017-01-16 |
| 授权公布号 | CN206545921U |
| 授权公告日 | 2017-10-10 |
| 分类号 | F21V33/00 |
| 分类 | 照明; |
| 申请人名称 | 东莞钜鼎照明有限公司 |
| 申请人地址 | 广东省东莞市大朗镇水口工业区 |
专利法律状态
2024-01-26
专利权的终止
状态信息
未缴年费专利权终止;IPC(主分类):F21V 33/00;专利号:ZL2017200553899;申请日:20170116;授权公告日:20171010;终止日期:
2017-10-10
授权
状态信息
授权
摘要
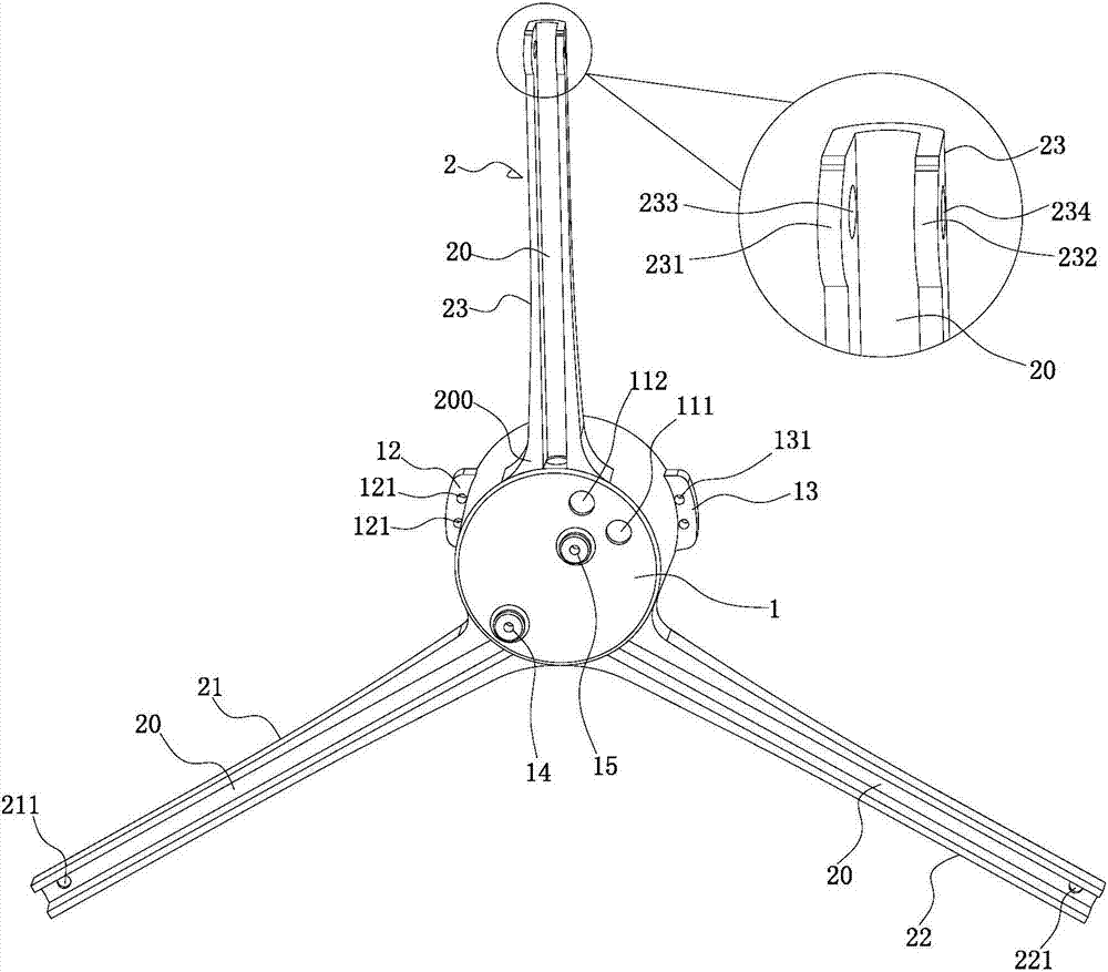
本实用新型公开一种风扇灯用同步电机固定架结构。该风扇灯用同步电机固定架结构包括:塑胶中座以及一体注塑成型于该塑胶中座外围并呈辐射状分布的连接杆组,该塑胶中座中成型有供同步电机安装的安装腔,且该塑胶中座底部设置有贯穿安装腔的第一、第二线孔,该连接杆组中连接杆下端面具有安装槽,且该连接杆组中连接杆端部形成有加宽对接部,该加宽对接部与塑胶中座外围一体固定以增强连接强度。本实用新型整体为一体注塑成型结构,无需组装、焊接,以致制作成本低,尺寸精度高,且强度高,还便于风扇灯组,令本实用新型具有极强的市场竞争力。


