授权公布号:CN214094187U
一种高显色指数LED多功能生鲜吸顶灯
有效
申请
2020-12-14
申请公布
1970-01-01
授权
2021-08-31
预估到期
2030-12-14
| 申请号 | CN202023016545.1 |
| 申请日 | 2020-12-14 |
| 授权公布号 | CN214094187U |
| 授权公告日 | 2021-08-31 |
| 分类号 | F21S8/04;F21V33/00;F21V17/06;F21V23/00;F21V21/03;F21V31/00;F24F8/30;F21Y115/10N |
| 分类 | 照明; |
| 申请人名称 | 东莞钜鼎照明有限公司 |
| 申请人地址 | 广东省东莞市大朗镇水口金沙三路8号 |
专利法律状态
2021-08-31
授权
状态信息
授权
摘要
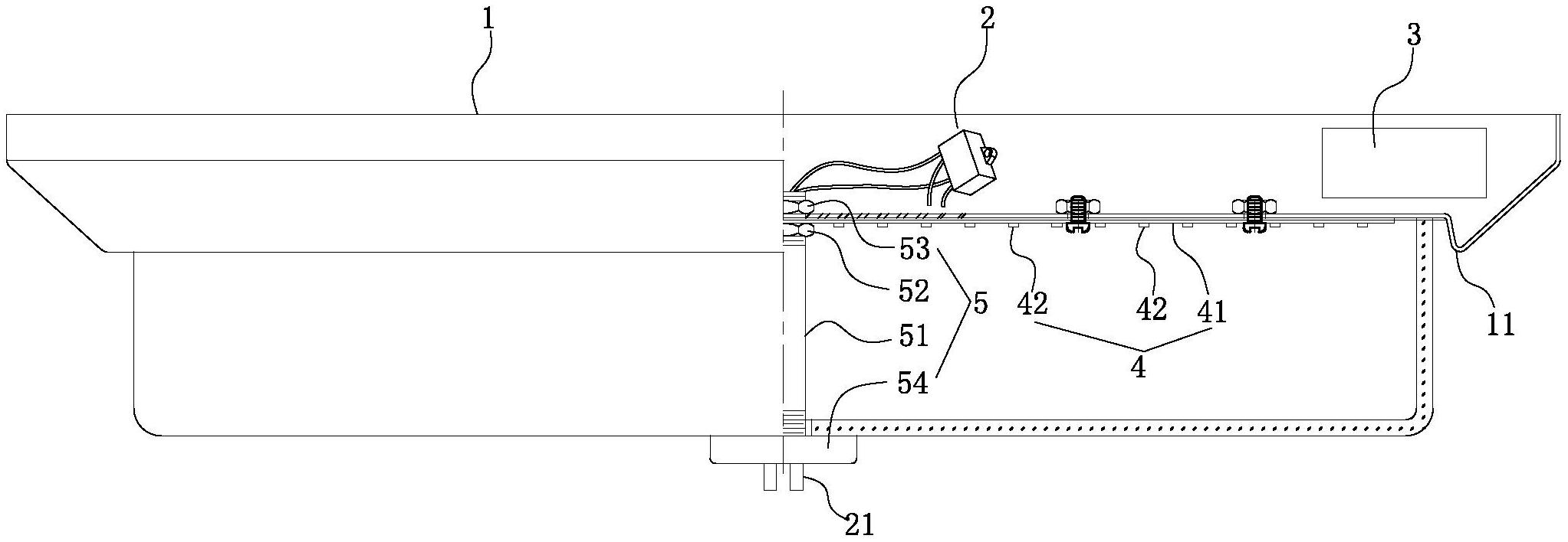
本实用新型公开一种高显色指数LED多功能生鲜吸顶灯,其包括吸顶盘、安装于该吸顶盘下端的LED发光组件和安装于该吸顶盘内部并用于控制该LED发光组件工作的控制装置、安装于该吸顶盘下端并罩在该LED发光组件外围的灯罩,该控制装置与LED发光组件电性连接,其特征在于:所述吸顶盘内还安装有与控制装置电性连接的负离子发生器,该负离子发生器的发射头设置于灯罩中央,且该发射头朝下;该LED发光组件包括有固定于该吸顶盘下端的电路板以及复数设置于电路板下端且显色指数为95以上的LED灯珠。本实用新型结构较为简单,具有高显色指数照明功能,使生鲜产品看起来更加真实鲜活,还能产生负离子用于净化空气、杀灭细菌,促进生鲜产品销售。


