授权公布号:CN214501035U
一种智能紫外LED杀菌涡轮风扇灯
有效
申请
2021-03-01
申请公布
1970-01-01
授权
2021-10-26
预估到期
2031-03-01
| 申请号 | CN202120441501.9 |
| 申请日 | 2021-03-01 |
| 授权公布号 | CN214501035U |
| 授权公告日 | 2021-10-26 |
| 分类号 | F21S8/06;F21V33/00;F21V19/00;A61L2/10;A61L9/20;F21Y115/10N |
| 分类 | 照明; |
| 申请人名称 | 东莞钜鼎照明有限公司 |
| 申请人地址 | 广东省东莞市大朗镇水口金沙三路8号 |
专利法律状态
2021-10-26
授权
状态信息
授权
摘要
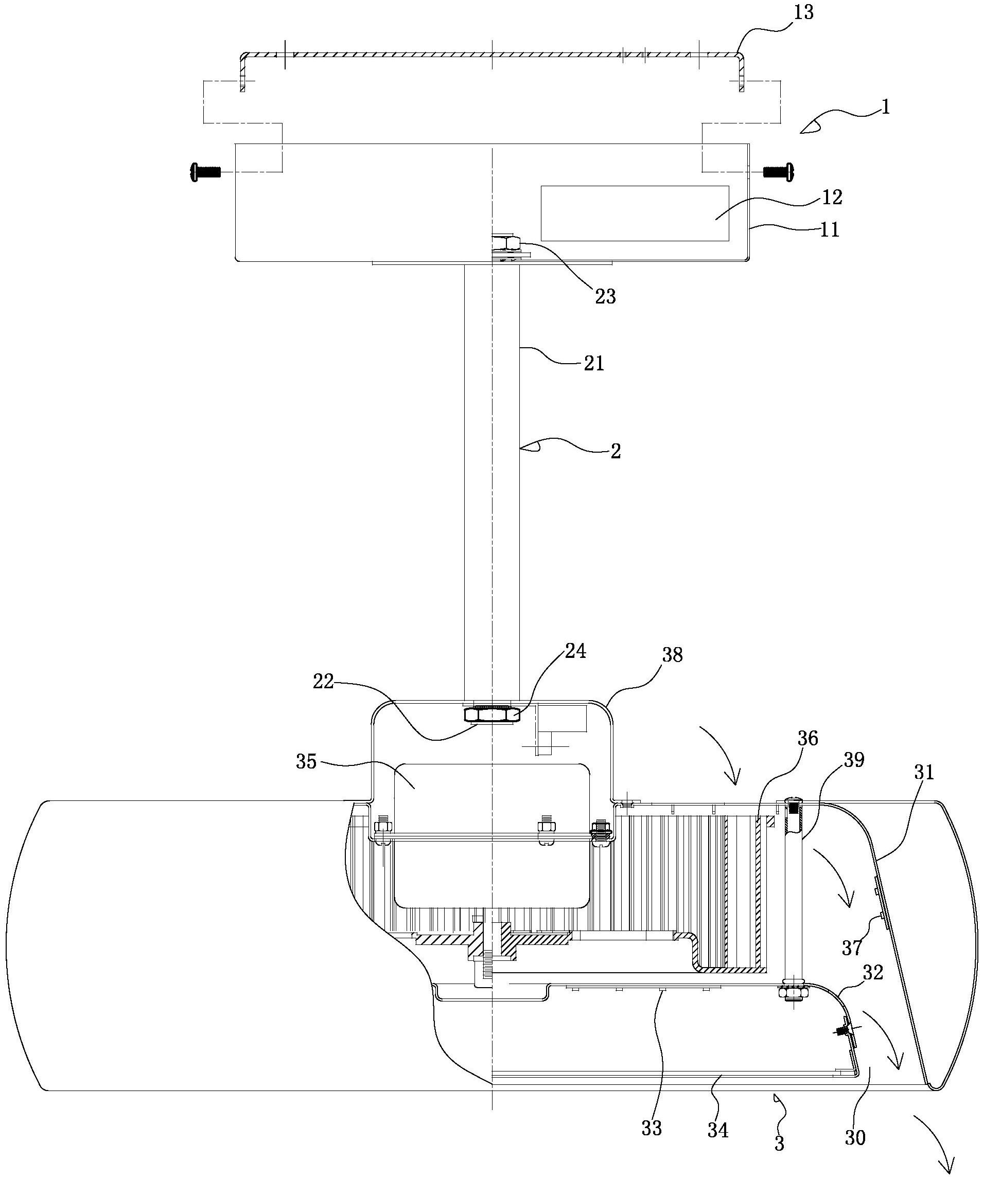
本实用新型公开一种智能紫外LED杀菌涡轮风扇灯,其包括顶盖组、安装于顶盖组下端的吊杆及安装于吊杆下端的灯体,所述灯体包括外壳体及安装于该外壳体内的内壳体、安装于该内壳体中的白光LED发光模组、安装于该内壳体下端并位于该白光LED发光模组下方的透光板、安装于该外壳体内的电机和与该电机下端的转轴安装的涡轮风扇叶,该外壳体中部与内壳体中部之间形成有间隔,该涡轮风扇叶位于该间隔内,且外壳体下端与内壳体下端之间形成有环状出风口,所述外壳体内壁安装有用于对从环状出风口排出的风进行杀菌的紫外LED杀菌模组。本实用新型能够同时具有照明、风扇及空气杀菌消毒功能,且每个功能都可以单独实现,以此能够满足不同消费者的需求。


