授权公布号:CN218709447U
宠物饮水装置
有效
申请
2022-11-17
申请公布
1970-01-01
授权
2023-03-24
预估到期
2032-11-17
| 申请号 | CN202223055143.1 |
| 申请日 | 2022-11-17 |
| 授权公布号 | CN218709447U |
| 授权公告日 | 2023-03-24 |
| 分类号 | C02F1/44;A01K7/02;C02F103/02N |
| 分类 | 水、废水、污水或污泥的处理; |
| 申请人名称 | 小佩网络科技(上海)有限公司 |
| 申请人地址 | 上海市闵行区紫星路588号2幢4139室 |
专利法律状态
2023-03-24
授权
状态信息
授权
摘要
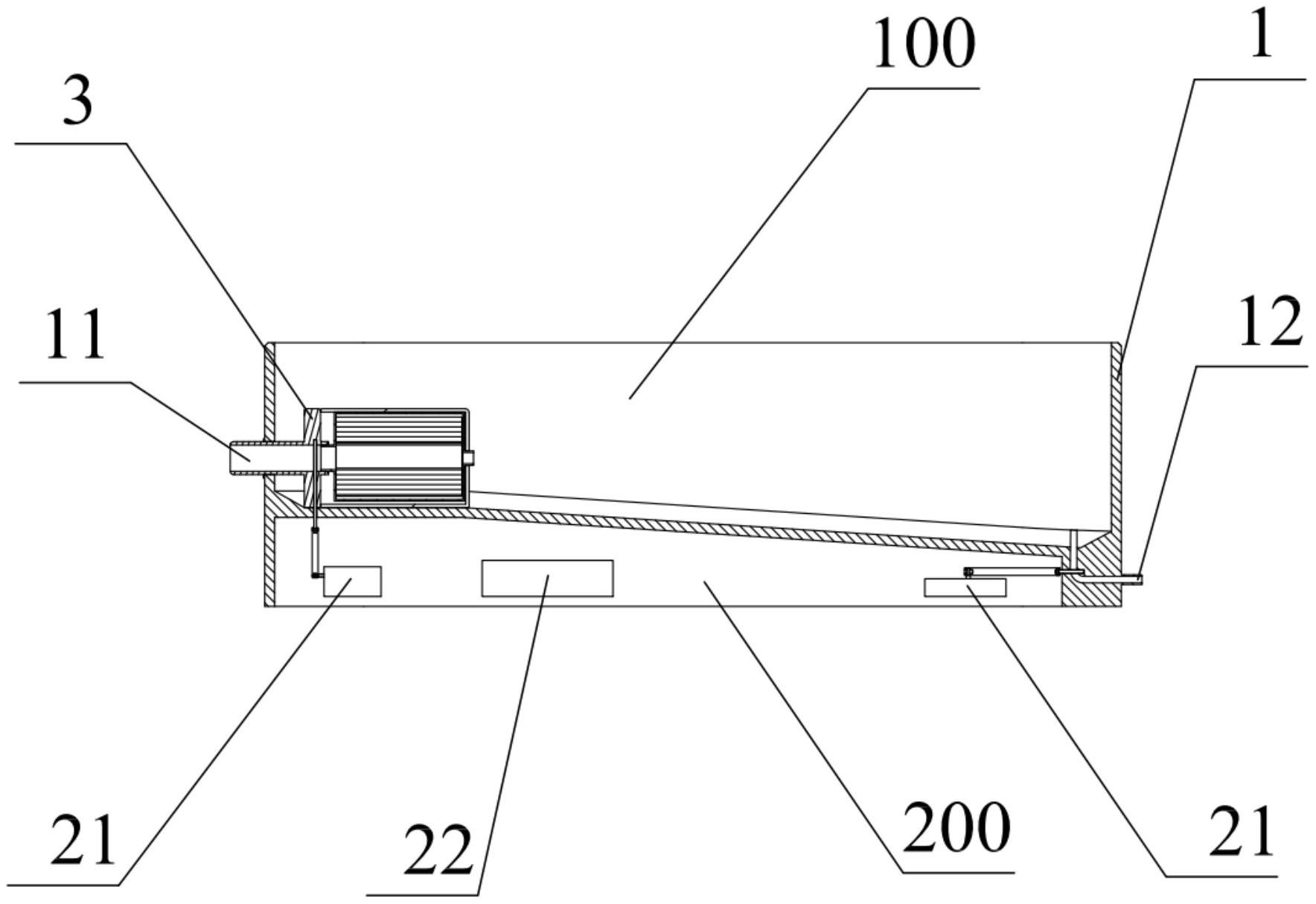
本实用新型涉及宠物饲养技术领域,具体公开了一种宠物饮水装置,包括壳体、控制组件和净水装置。壳体内部设置有隔板,隔板与水平方向呈夹角设置,隔板将壳体分隔为互不连通的储水腔和装置腔,储水腔设置有入水口和排水口,排水口设置于隔板较低的一端;控制组件包括控制阀和处理器,入水口和排水口均设置有控制阀,处理器设置于装置腔,处理器能够控制控制阀的开关;净水装置连接于入水口,净水装置用于对由入水口进入储水腔的水进行过滤。该宠物饮水装置能够较为简单地实现宠物饮用水的更换,且能够通过净水装置来改善水质,让宠物能够饮用到更加健康的纯净水。


