授权公布号:CN217300228U
一种门体框架的铰链连接结构
有效
申请
2022-04-14
申请公布
1970-01-01
授权
2022-08-26
预估到期
2032-04-14
| 申请号 | CN202220866674.X |
| 申请日 | 2022-04-14 |
| 授权公布号 | CN217300228U |
| 授权公告日 | 2022-08-26 |
| 分类号 | E05D3/02;E05D5/02;E05D7/04;E05D7/12;E06B1/52;E06B3/04 |
| 分类 | 锁;钥匙;门窗零件;保险箱; |
| 申请人名称 | 熊熊安防科技有限公司 |
| 申请人地址 | 浙江省金华市武义县桐琴镇凤凰山工业区桐塘区块6号 |
专利法律状态
2022-08-26
授权
状态信息
授权
摘要
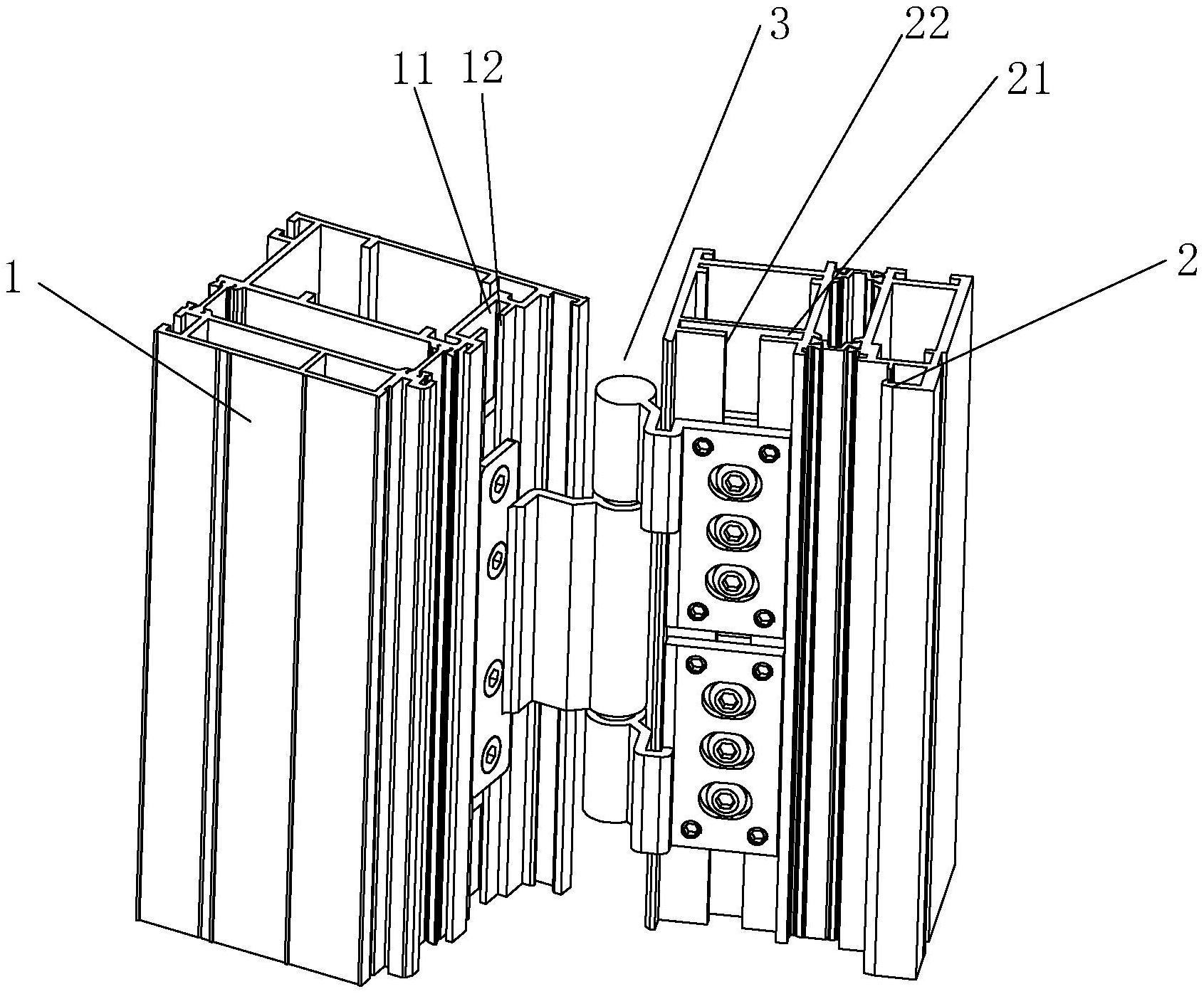
本实用新型公开了一种门体框架的铰链连接结构,旨在一种简单合理、设计合理、稳定可靠、且调节拆装便捷的门体框架的铰链连接结构,包括门扇框和门架框以及设置在门扇框和门架框之间的门铰链组件,所述门铰链组件包括铰链轴、设置在铰链轴上的门架铰接臂、门扇铰接臂、供门架铰接臂固定连接的门架支撑板以及供门扇铰接臂固定连接的门扇支撑板,所述门扇框上设有供门扇支撑板插配的门扇槽,该门扇槽上开设有门扇槽口,所述门架框上设有供门架支撑板插配的门架槽,该门架槽上开设有门架槽口。


