授权公布号:CN213234648U
一种门体铰链结构
有效
申请
2020-08-26
申请公布
1970-01-01
授权
2021-05-18
预估到期
2030-08-26
| 申请号 | CN202021814645.6 |
| 申请日 | 2020-08-26 |
| 授权公布号 | CN213234648U |
| 授权公告日 | 2021-05-18 |
| 分类号 | E05D3/02;E05D5/06;E05D5/10;E05D7/04 |
| 分类 | 锁;钥匙;门窗零件;保险箱; |
| 申请人名称 | 熊熊安防科技有限公司 |
| 申请人地址 | 浙江省金华市武义县桐琴五金机械工业园(武义九龙工具有限公司内4幢第一层) |
专利法律状态
2021-05-18
授权
状态信息
授权
摘要
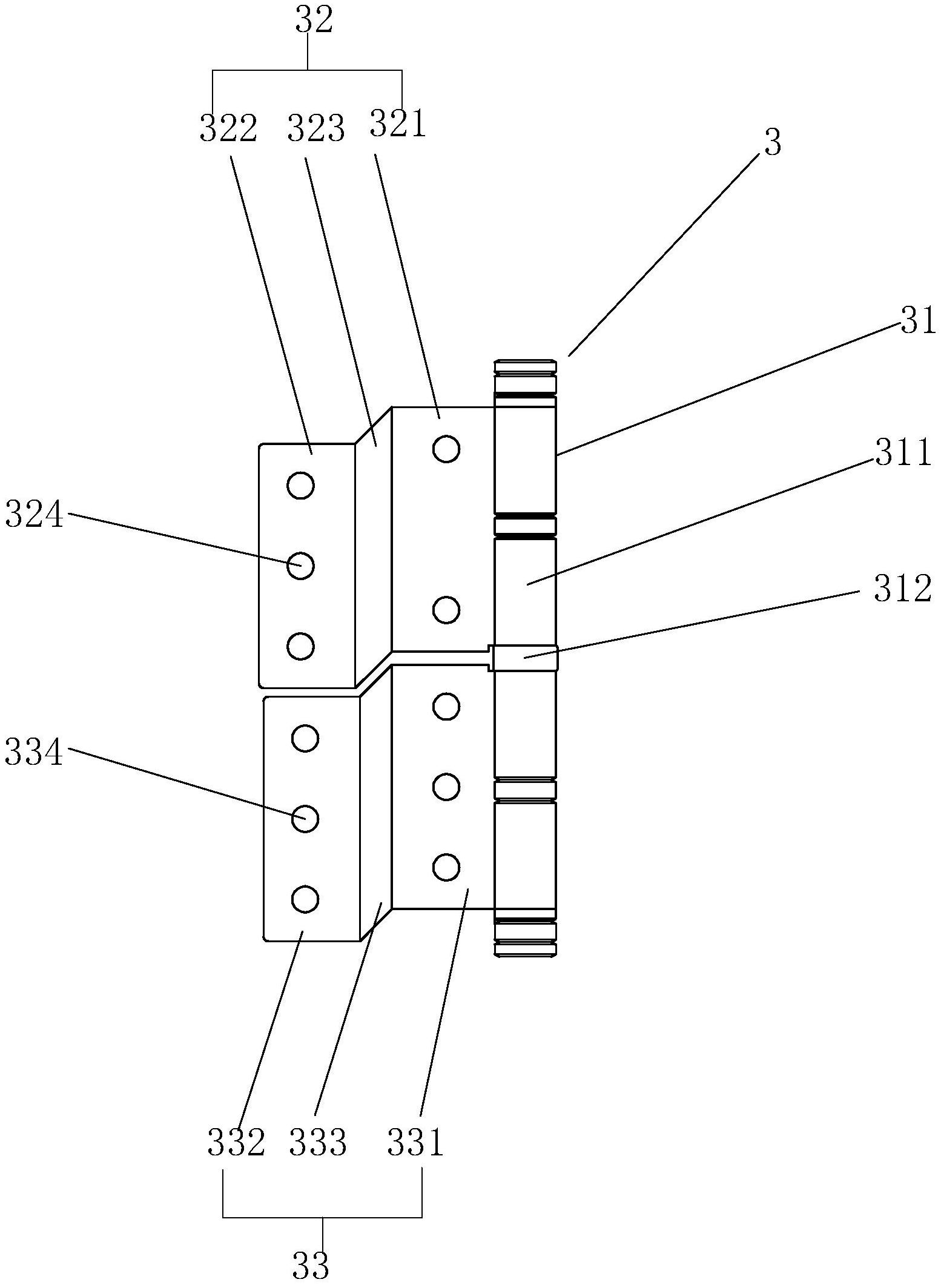
本实用新型公开了一种门体铰链结构,旨在一种简单合理、稳定可靠、美观度佳且安装便捷的门体铰链结构,包括门架、门面板以及用于铰接门架和门面板的铰链组件,所述铰链组件包括铰接轴、铰接在铰接轴上的门架铰接臂和门板铰接臂,所述门架铰接臂包括第一门架铰接面板、第二门架铰接面板以及连接第一门架铰接面板和第二门架铰接面板的门架桥接面板,所述第一门架铰接面板和第二门架铰接面板上均设置有至少二个的门架紧固孔,所述门板铰接臂包括第一门板铰接面板、第二门板铰接面板以及连接第一门板铰接面板和第二门板铰接面板的门板桥接面板,所述第一门板铰接面板和第二门板铰接面板上均设置有至少二个的门板紧固孔。


