授权公布号:CN212887127U
一种门业型材折弯机气动工装夹具
有效
申请
2020-07-27
申请公布
1970-01-01
授权
2021-04-06
预估到期
2030-07-27
| 申请号 | CN202021501279.9 |
| 申请日 | 2020-07-27 |
| 授权公布号 | CN212887127U |
| 授权公告日 | 2021-04-06 |
| 分类号 | B25B5/10;B25B5/06;B21D43/00 |
| 分类 | 手动工具;轻便机动工具;手动器械的手柄;车间设备;机械手; |
| 申请人名称 | 熊熊安防科技有限公司 |
| 申请人地址 | 浙江省金华市武义县桐琴五金机械工业园(武义九龙工具有限公司内4幢第一层) |
专利法律状态
2021-04-06
授权
状态信息
授权
摘要
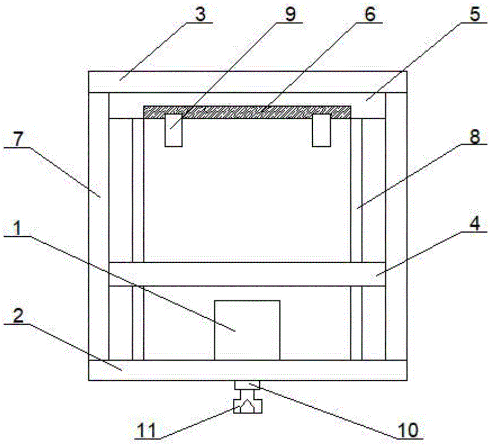
本实用新型提供一种门业型材折弯机气动工装夹具,包括支撑组件,以及设置于支撑组件上的夹紧组件和固定组件;支撑组件包括第一固定板、第二固定板和两块连接板,第一固定板上设有两块连接板;两块连接板上远离第一固定板的一端均与第二固定板固定连接;夹紧组件包括气缸、夹板、两根第一滑杆和定位板,定位板设于第二固定板上;两根第一滑杆的两端分别与定位板和第一固定板相连接;气缸设于第一固定板上;夹板环设于两根第一滑杆上;固定组件包括第三固定块、两块U型夹块和螺杆,第三固定块设于定位板上;螺杆穿设于第三固定块内;两块U型夹块的一端均穿设于第三固定块内。本实用新型通过固定组件便于固定工件的位置,提高了夹具的工作效率。


