授权公布号:CN211500389U
基于物联网的家用安全门
有效
申请
2019-12-31
申请公布
1970-01-01
授权
2020-09-15
预估到期
2029-12-31
| 申请号 | CN201922469622.X |
| 申请日 | 2019-12-31 |
| 授权公布号 | CN211500389U |
| 授权公告日 | 2020-09-15 |
| 分类号 | E06B5/10 |
| 分类 | 一般门、窗、百叶窗或卷辊遮帘;梯子; |
| 申请人名称 | 河南省长城门业有限公司 |
| 申请人地址 | 河南省周口市神农路北侧大庆路西侧 |
专利法律状态
2020-09-15
授权
状态信息
授权
摘要
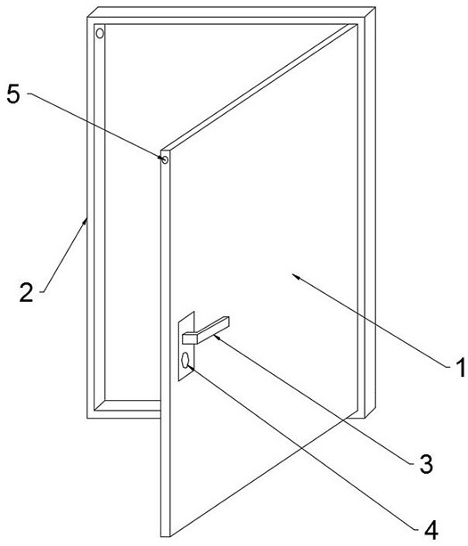
本实用新型涉及一种基于物联网的家用安全门,包括门框、感应装置、钥匙和门体,门体对应装配在门框上,所述门框侧部与门体非铰接侧之间设有第一感应装置;设置第一感应装置和第二感应装置,通过第二感应装置感应是否通过钥匙开门,通过第一感应装置来监测门体是否打开,利用两组感应装置感应门体是否异常打开,若监测到异常则发送警示信息至app,用以对住户警告。


