授权公布号:CN206090131U
一种新型支脚架挂烫机
有效
申请
2016-07-15
申请公布
1970-01-01
授权
2017-04-12
预估到期
2026-07-15
| 申请号 | CN201620779048.1 |
| 申请日 | 2016-07-15 |
| 授权公布号 | CN206090131U |
| 授权公告日 | 2017-04-12 |
| 分类号 | D06F73/00 |
| 分类 | 织物等的处理;洗涤;其他类不包括的柔性材料; |
| 申请人名称 | 佛山市麦尔电器有限公司 |
| 申请人地址 | 广东省佛山市南海区里水镇和顺大道三街5号 |
专利法律状态
2017-04-12
授权
状态信息
授权
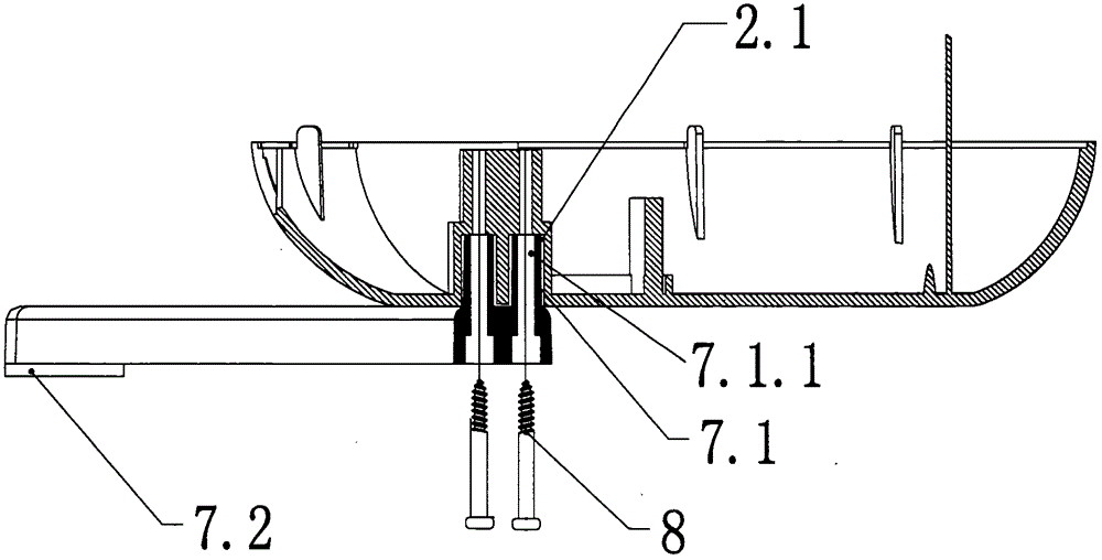
摘要
本实用新型涉及一种新型支脚架挂烫机,其结构由主机壳体、底座、水壶、发热器、导气管喷头、衣架杆、支脚架组成。本实用新型支脚架设有设有的凸块与底座设有的凹孔相连接,支脚架设有的凸块设有内孔通过螺钉穿入与底座设有的凹孔固定相连接,支脚架设有的脚跟与地面平衡支撑。本实用新型目的在于提供一种新型挂烫机在斜坡地面使用时安装支脚架撑地面,使挂烫机不至于翻倒带来安全隐患。挂烫机平地使用时可拆下支脚架,使挂烫机保持原有美观。


