授权公布号:CN212648652U
一种安全系数高的电源防雷插座
有效
申请
2020-08-18
申请公布
1970-01-01
授权
2021-03-02
预估到期
2030-08-18
| 申请号 | CN202021723978.8 |
| 申请日 | 2020-08-18 |
| 授权公布号 | CN212648652U |
| 授权公告日 | 2021-03-02 |
| 分类号 | H01R13/66;H01R13/514 |
| 分类 | 基本电气元件; |
| 申请人名称 | 江苏宝尔格电气有限公司 |
| 申请人地址 | 江苏省南京市江北新区沿江街道浦洲路35-3号 |
专利法律状态
2021-03-02
授权
状态信息
授权
摘要
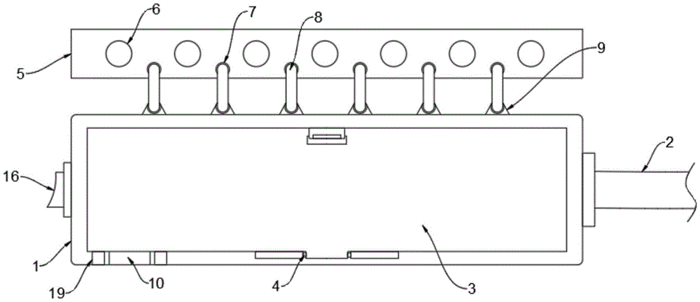
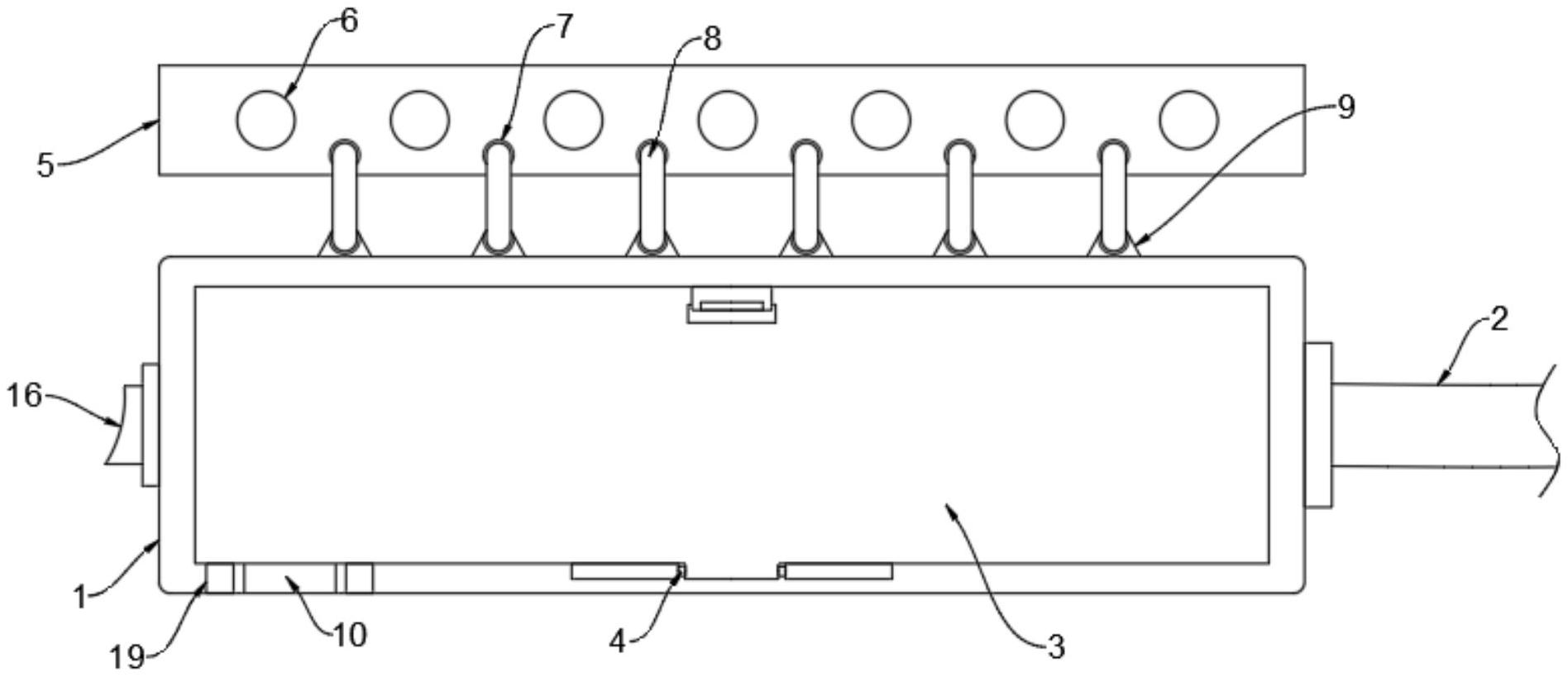
本实用新型公开了一种安全系数高的电源防雷插座,涉及插座技术领域,为解决现有电源防雷插座功能单一,且安全系数低的问题。所述插座本体的一侧电性连接有电源接入端,所述插座本体的上表面固定设置有固定孔,且固定孔设置有六个,所述插座本体的上方设置有挂板,所述挂板的内部固定设置有安装孔,且安装孔设置有七个,所述插座本体的内部固定设置有凹槽,所述凹槽的内部固定设置有通槽,所述通槽的内部设置有滑座,所述滑座的内部固定设置有滑槽,且滑槽设置有两个,所述滑座的前端设置有防雷机构,且防雷机构与滑槽滑动连接。


