授权公布号:CN212676892U
一种电涌保护器用新型底座
有效
申请
2020-08-19
申请公布
1970-01-01
授权
2021-03-09
预估到期
2030-08-19
| 申请号 | CN202021737276.5 |
| 申请日 | 2020-08-19 |
| 授权公布号 | CN212676892U |
| 授权公告日 | 2021-03-09 |
| 分类号 | H02H9/04;H02H1/00 |
| 分类 | 发电、变电或配电; |
| 申请人名称 | 江苏宝尔格电气有限公司 |
| 申请人地址 | 江苏省南京市江北新区沿江街道浦洲路35-3号 |
专利法律状态
2021-03-09
授权
状态信息
授权
摘要
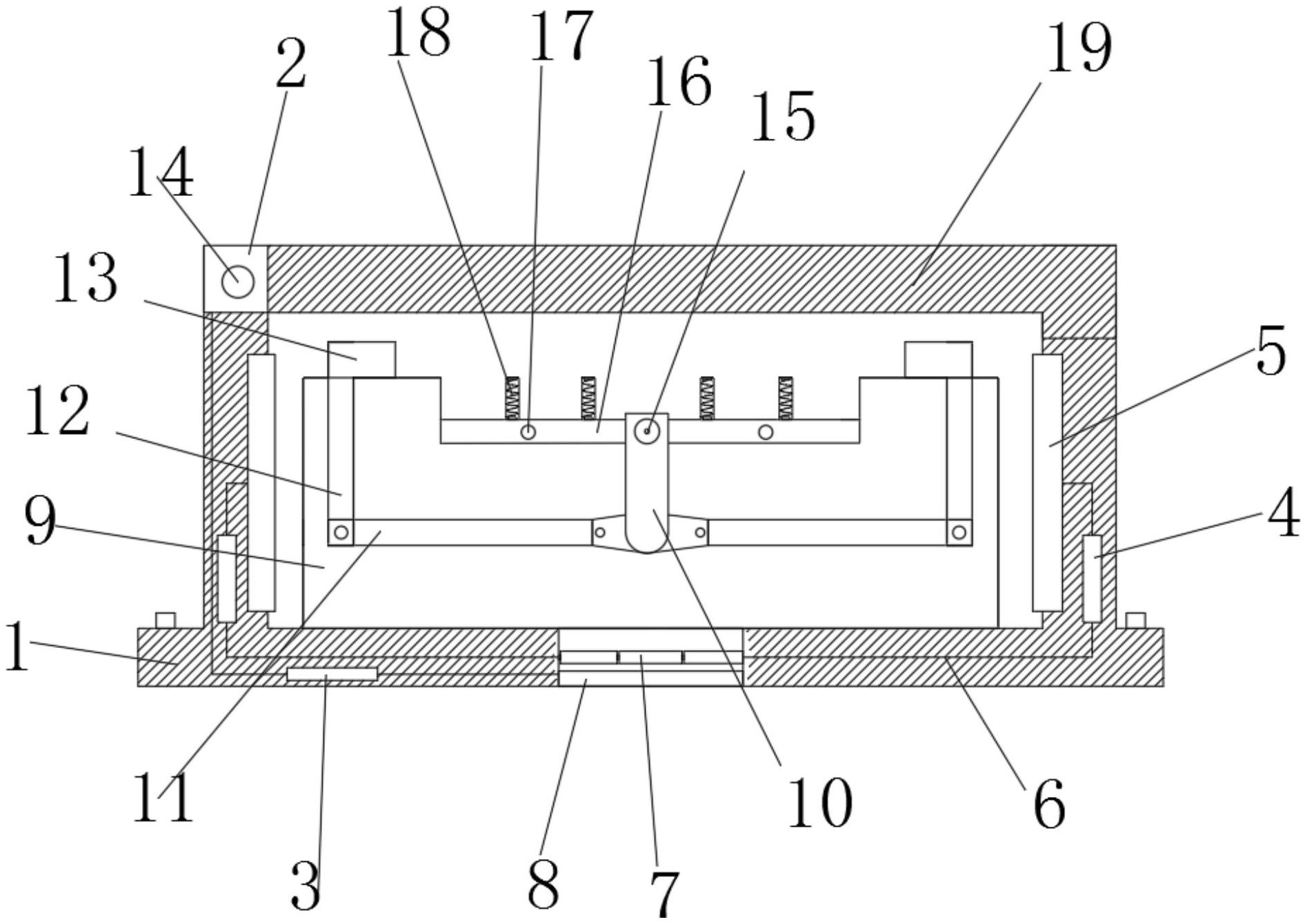
本实用新型公开了一种电涌保护器用新型底座,包括底座,所述底座的内顶部设置有固定块,所述固定块的顶部滑动连接有卡块,所述卡块的底部固定连接第二连杆,所述第二连杆的一端转动连接有第一连杆,所述第一连杆的一端活动连接有转动杆,所述转动杆的外表面固定连接有摇把,所述固定块的外表面设置有多个插孔,所述固定块的顶部固定连接有多个弹簧,所述底座的两侧内壁均固定连接有led灯管,所述底座的顶部一侧设置有感应片,所述感应片的底部固定连接有电源线,所述电源线的电性连接有处理模块。本实用新型中,通过增加感应灯来加强对我们日常生活中的电涌保护器保护和利用性,减少电力的损耗。


