授权公布号:CN216898816U
一种车轮位置度检测装置
有效
申请
2021-12-28
申请公布
1970-01-01
授权
2022-07-05
预估到期
2031-12-28
| 申请号 | CN202123347522.3 |
| 申请日 | 2021-12-28 |
| 授权公布号 | CN216898816U |
| 授权公告日 | 2022-07-05 |
| 分类号 | G01B21/00 |
| 分类 | 测量;测试; |
| 申请人名称 | 茌平信发铝制品有限公司 |
| 申请人地址 | 山东省聊城市茌平县热电工业园西园区 |
专利法律状态
2022-07-05
授权
状态信息
授权
摘要
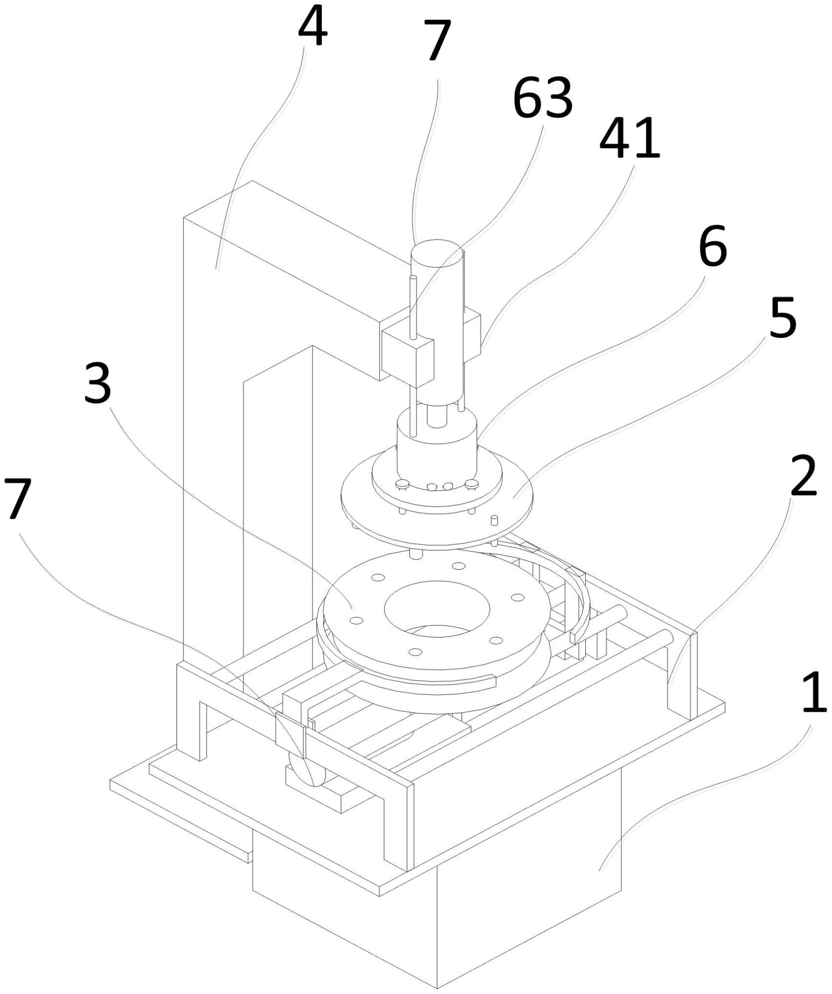
本实用新型属于检测设备领域,涉及一种车轮位置度检测装置,包括工作台,所述工作台上方固定连接有放置架,所述放置架的上方放置有车轮,所述车轮的两侧分别设置有固定夹套和移动夹套,所述移动夹套下方固定连接有驱动杆,所述驱动杆穿过放置架固定连接有驱动装置,所述驱动装置包括用于带动移动夹套夹紧车轮的驱动电机,所述车轮的上方设置有用于检测车轮螺栓孔的检测盘,所述检测盘的上设置有用于感应车轮螺栓孔位置的感应元件,所述检测盘的上方衔接有旋转电机,所述旋转电机的上方固定连接有液压油缸,所述液压油缸固定连接有支撑臂。


