授权公布号:CN214406844U
一种用于生姜生产的空气能烘干机
有效
申请
2021-03-03
申请公布
1970-01-01
授权
2021-10-15
预估到期
2031-03-03
| 申请号 | CN202120453738.9 |
| 申请日 | 2021-03-03 |
| 授权公布号 | CN214406844U |
| 授权公告日 | 2021-10-15 |
| 分类号 | F26B11/18;F26B23/00;F26B25/18;F26B25/00;F26B25/02;F26B25/12 |
| 分类 | 干燥; |
| 申请人名称 | 铜陵市和平姜业有限责任公司 |
| 申请人地址 | 安徽省铜陵市义安区天门镇街道 |
专利法律状态
2021-10-15
授权
状态信息
授权
摘要
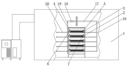
本实用新型涉及烘干机技术领域,且公开了一种用于生姜生产的空气能烘干机,包括主体,所述主体的内底壁连接有烘干架,所述烘干架的内部固定连接有定位块,所述定位块的内部活动连接有烘干盘,所述烘干盘的内部开设有蒸发孔,所述烘干架的内部固定连接有固定块。通过烘干架、定位块、烘干盘、蒸发孔、固定块、移动杆、顶块、顶杆、弧形块、弹簧、电机、连轴、转块、转轴、转动杆、移动板、第一挡板、第二挡板和限位杆之间的相互配合,可以通过电机带动移动板左右移动,从而使顶杆依次起落,进而将烘干盘顶部的重合的姜片分开,达到了便于对重叠的姜片进行分离的效果,解决了当姜片因放入量较多而发生重叠时,姜片难以一次性烘干的问题。


