授权公布号:CN114307590B
一种智能除甲醛装置
有效
申请
2021-12-21
申请公布
2022-04-12
授权
2022-12-13
预估到期
2041-12-21
| 申请号 | CN202111568361.2 |
| 申请日 | 2021-12-21 |
| 申请公布号 | CN114307590A |
| 申请公布日 | 2022-04-12 |
| 授权公布号 | CN114307590B |
| 授权公告日 | 2022-12-13 |
| 分类号 | B01D53/75;B01D53/78;B01D53/82;B01D53/00;B01D53/72 |
| 分类 | 一般的物理或化学的方法或装置; |
| 申请人名称 | 广州优吸环保科技有限公司 |
| 申请人地址 | 广东省广州市番禺区大石街迎宾路221号201、202、203、204室 |
专利法律状态
2022-12-13
授权
状态信息
授权
2022-04-12
公布
状态信息
公布
摘要
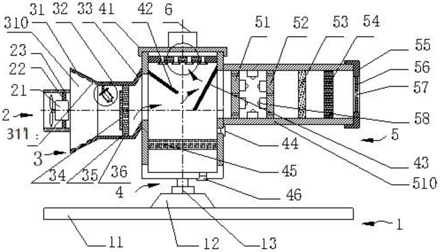
本发明涉及的一种智能除甲醛装置,包括底座模块、抽气模块、视觉检测模块、一级喷淋模块以及二级去除模块;所述抽气模块、视觉检测模块、一级喷淋模块以及二级去除模块依次连通;空气被抽气模块吸入视觉检测模块后,经过一级喷淋模块以及二级去除模块后,空气中的甲醛被去除。视觉检测模块中的甲醛显示试纸的颜色深浅与甲醛浓度成正比,该甲醛显示试纸被相机拍照,进过图形处理后经卷积神经网络识别出甲醛浓度,控制器根据该甲醛浓度控制风扇与水泵的转速,从而实现该甲醛去除装置的智能化控制。


