授权公布号:CN217023028U
一种具有安全防护功能的真空封口机
有效
申请
2021-10-08
申请公布
1970-01-01
授权
2022-07-22
预估到期
2031-10-08
| 申请号 | CN202122424226.2 |
| 申请日 | 2021-10-08 |
| 授权公布号 | CN217023028U |
| 授权公告日 | 2022-07-22 |
| 分类号 | B65B31/02;B65B57/00;B65B51/10 |
| 分类 | 输送;包装;贮存;搬运薄的或细丝状材料; |
| 申请人名称 | 佛山市格林盈璐电器科技有限公司 |
| 申请人地址 | 广东省佛山市顺德区大良街道五沙顺和南路2号二号厂房二楼、三楼、四楼 |
专利法律状态
2022-07-22
授权
状态信息
授权
摘要
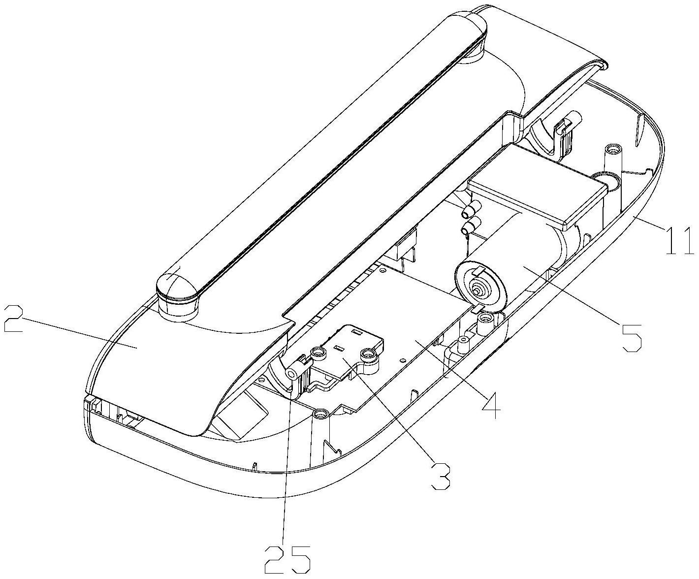
本实用新型公开了一种具有安全防护功能的真空封口机,包括机体、上盖、控制装置、真空泵体和加热封口装置,机体上设有下真空仓,上盖对应下真空仓的位置处设有上真空仓,下真空仓连通真空泵体,上盖的一端通过连接块与机体可转动连接,另一端可盖合于下真空仓的上端,还包括安全防护组件,安全防护组件包括固定架、微动开关和压杆,固定架安装于机体内,微动开关安装于固定架且与控制装置电性连接,压杆可活动地安装于固定架,压杆的一端与连接块相配合,另一端与微动开关相配合。安全防护组件的设置可确保在上盖盖合后才会启动加热,解决了开盖情况下,误触导致加热封口装置工作,烫伤的风险,大大提高了安全性。


