授权公布号:CN205932903U
用于大直径筒体焊接的对接设备
有效
申请
2016-07-04
申请公布
1970-01-01
授权
2017-02-08
预估到期
2026-07-04
| 申请号 | CN201620700803.2 |
| 申请日 | 2016-07-04 |
| 授权公布号 | CN205932903U |
| 授权公告日 | 2017-02-08 |
| 分类号 | B66C1/10;B23K37/04 |
| 分类 | 卷扬;提升;牵引; |
| 申请人名称 | 珠海市新维焊接器材有限公司 |
| 申请人地址 | 广东省珠海市金湾区三灶镇机场西路1476号 |
专利法律状态
2017-02-08
授权
状态信息
授权
摘要
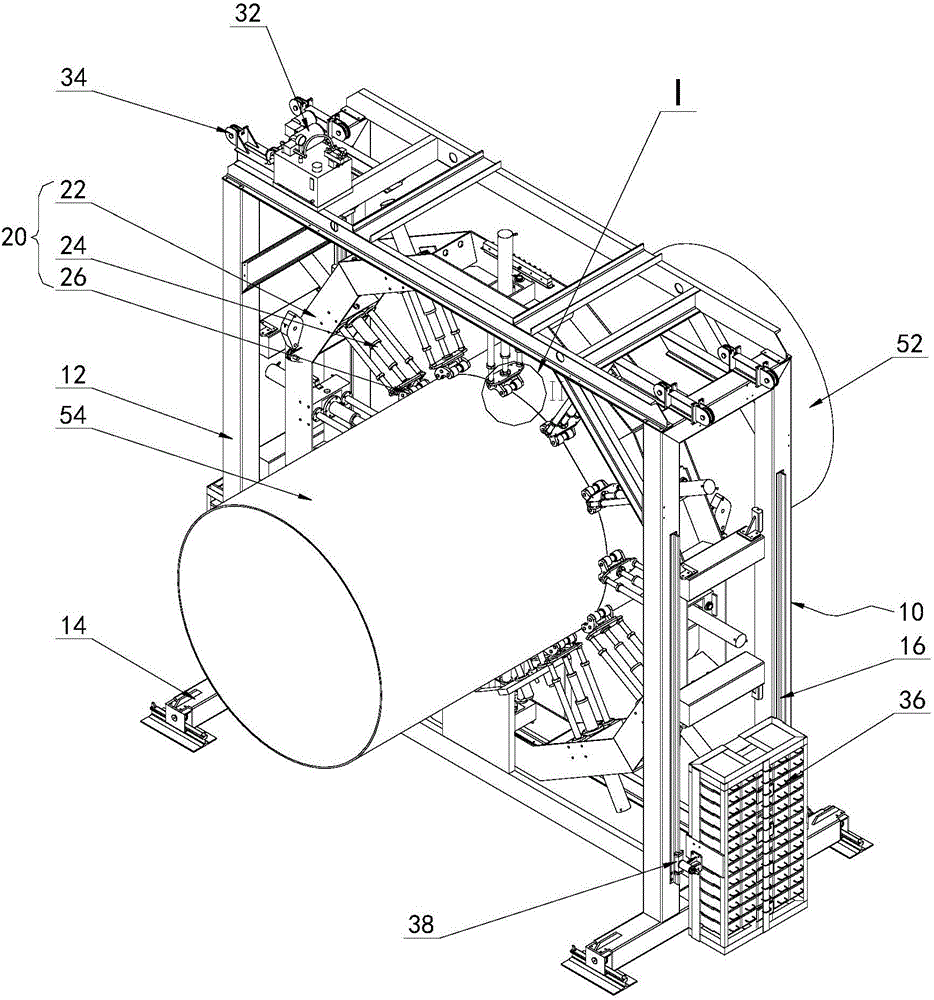
本实用新型公开了一种用于大直径筒体焊接的对接设备,包括:支座组件,支座组件包括吊架;定位组件,定位组件装在吊架中,并可上下升降运动,定位组件包括:环状的安装环;多个液压油缸组件,多个液压油缸组件沿圆周方向均布在安装环内,液压油缸组件包括沿安装环径向延伸的缸体和装于缸体内的活塞杆,缸体固定在安装环上;多个压轮组件,多个压轮组件分别与多个液压油缸组件的活塞杆的外端连接,压轮组件包括压轮,多个压轮组件的压轮之间围成用于压紧两个待焊接筒体的圆形卡位;以及驱动机构,驱动机构用于驱动定位组件升降运动。该对接设备可以实现筒类对接精准,以配合先进的机器人焊接技术,进一步做到自动化,精准化生产。


